Curiosii for ever!
: Car repair manuals for everyone.
Home
>>
Nissan-Datsun
>>
2012
>>
Leaf ELE-Electric Engine
>>
Repair and Diagnosis
>>
Diagrams
>>
Connector Views
>>
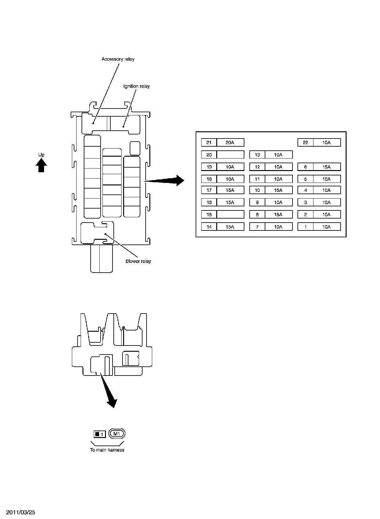
Fuse
Fuse
FUSE BLOCK - JUNCTION BOX (J/B)
Fuse, Connector and Terminal Arrangement