Curiosii for ever!: Car repair manuals for everyone.

Trunk / Liftgate Weatherstrip: Service and Repair




BACK DOOR

BACK DOOR WEATHER-STRIP : Removal and Installation


REMOVAL

Pull and remove engagement with body from weather-strip joint.

CAUTION:
Never pull strongly on weather-strip.

INSTALLATION

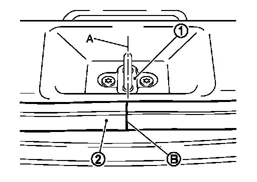
1.Working from the upper section, align weather-strip center mark (A) with vehicle center mark (cutting position) and install weather-strip onto the vehicle.










2.Align the connecting point (B) of weather-strip (2) to the center (A) of striker (1), and then install as shown in the figure.
3.Pull weather-strip gently to ensure that there is no loose section.
NOTE:
Check that weather-strip fits tightly in each corner and luggage rear plate.