Curiosii for ever!: Car repair manuals for everyone.

Front




HEATED SEAT SWITCH

FRONT : Removal and Installation


REMOVAL


CAUTION:
When removing and installing, use shop cloths to protect parts from damage.
1.Remove console finisher assembly from center console assembly. Refer to "Removal and Installation" Removal And Installation.





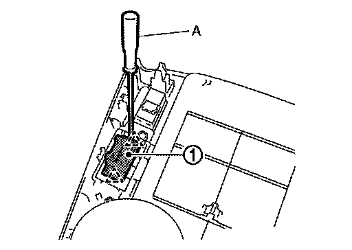
2.Disengage the heated seat switch (1) fixing pawl using remover tool, and remove heated seat switch from console finisher assembly.

INSTALLATION

Install on the reverse order of removal.