Curiosii for ever!
: Car repair manuals for everyone.
Home
>>
Nissan-Datsun
>>
2012
>>
Leaf ELE-Electric Engine
>>
Repair and Diagnosis
>>
Body and Frame
>>
Locks
>>
Keyless Entry
>>
Description and Operation
>>
Intelligent Key System
>>
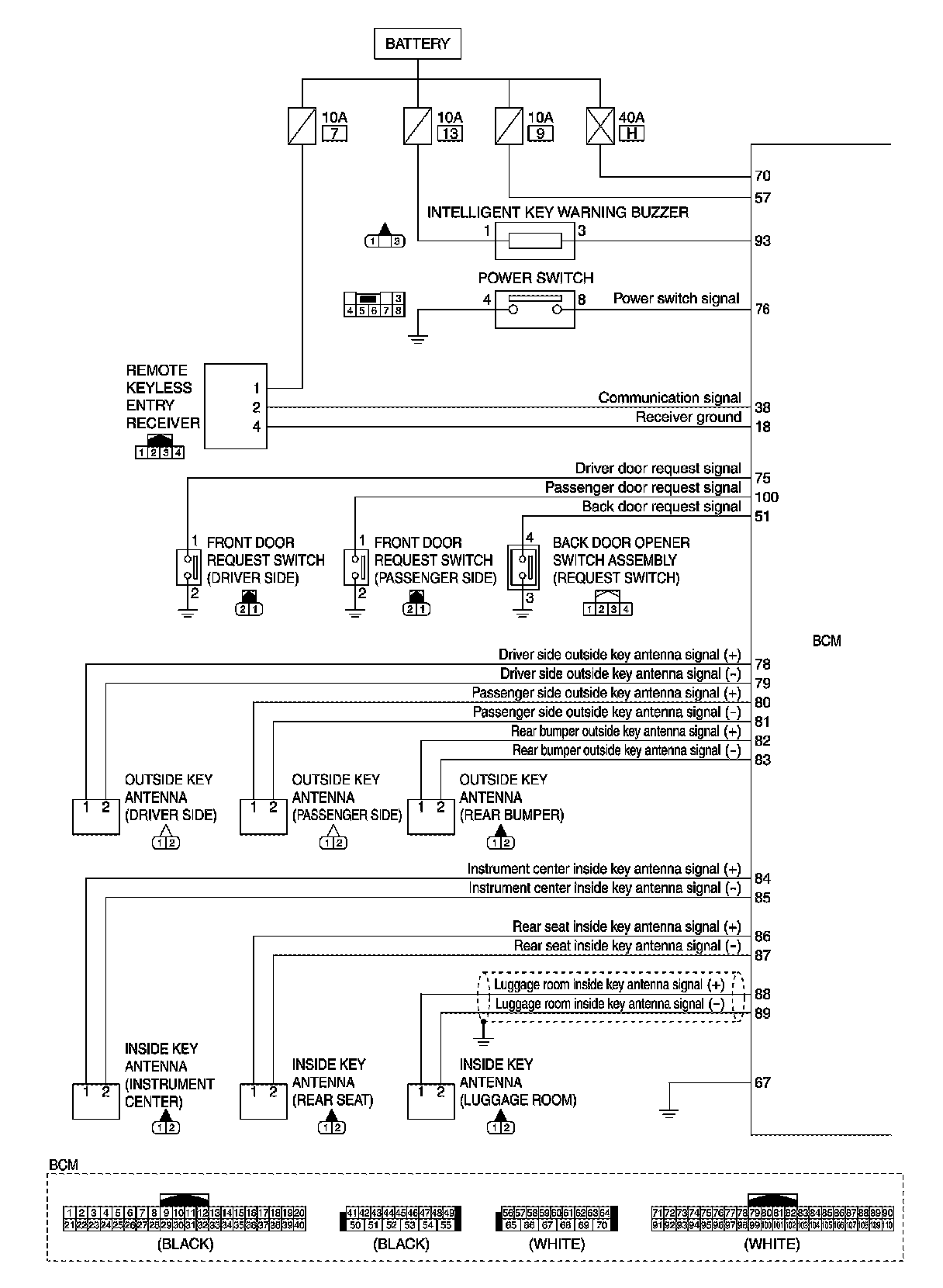
Circuit Diagram
Circuit Diagram
SYSTEM (INTELLIGENT KEY SYSTEM)
INTELLIGENT KEY SYSTEM : Circuit Diagram