Curiosii for ever!: Car repair manuals for everyone.

System Description




SYSTEM

INTELLIGENT KEY SYSTEM/READY SET FUNCTION : System Description


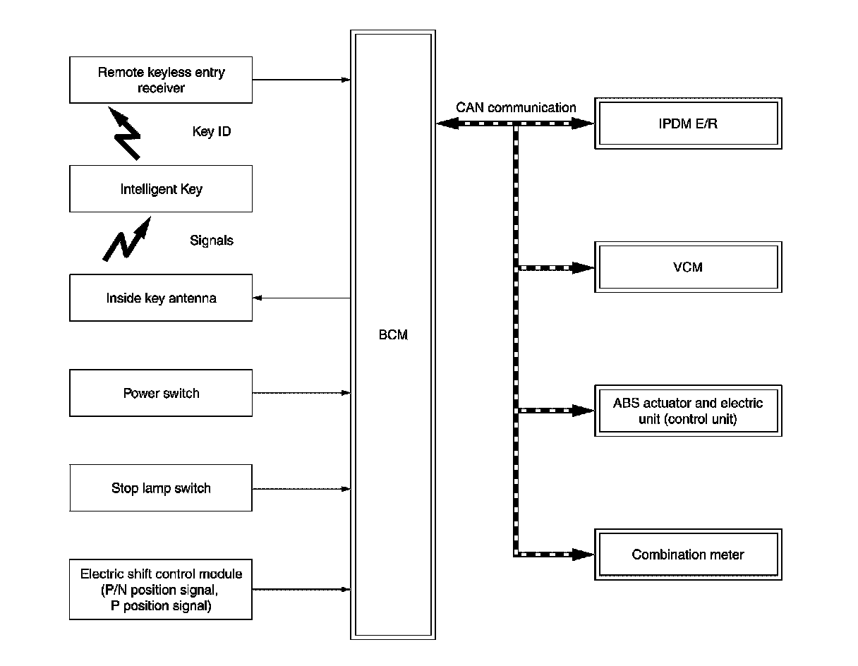
SYSTEM DIAGRAM







INPUT/OUTPUT SIGNAL CHART

Input Signal Item





Output Signal Item






SYSTEM DESCRIPTION

- The READY set function of Intelligent Key system makes it possible to set the vehicle to READY without using the key, based on the electronic ID verification. The electronic ID verification is performed between
BCM and Intelligent Key when the power switch is pressed while the Intelligent Key is within the detection area of inside key antenna.
NOTE:
The driver should carry the Intelligent Key at all times.
- Intelligent Key has 2 IDs [Intelligent Key ID and NVIS (NATS) ID]. It can perform the door lock/unlock operation and the power switch operation when the registered Intelligent Key is carried.
- If the ID is successfully verified, power switch operation can be available and the vehicle can be set to
READY.
- Up to 4 Intelligent Keys can be registered upon request from the customer.
NOTE:
Refer to "INTELLIGENT KEY SYSTEM : System Description" Intelligent Key System for any functions other than the
READY set function of Intelligent Key system.

PRECAUTIONS FOR INTELLIGENT KEY SYSTEM

The transponder [the chip for NVIS (NATS) ID verification] is integrated into the Intelligent Key. Therefore, ID verification cannot be performed using mechanical key only.


When Intelligent Key battery is discharged, the NVIS (NATS) ID verification can be performed by operating power switch after contacting Intelligent Key backside to power switch. If verification result is
OK, the vehicle can be set to READY.

OPERATION WHEN INTELLIGENT KEY IS CARRIED

1.When the power switch is pressed, BCM activates the inside key antenna and transmits the request signal to the Intelligent Key.
2.The Intelligent Key receives the request signal and transmits the Intelligent Key ID signal to BCM.
3.BCM receives the Intelligent Key ID signal via remote keyless entry receiver, and verifies it with the registered ID.
4.BCM turns ACC relay ON and transmits ON power supply signal to IPDM E/R if the verification results are
OK.
5.IPDM E/R turns the ignition relay ON to start ON power supply.
6.BCM detects that the shift position and brake pedal operating condition.
7.BCM transmits READY signal to VCM if BCM judges that the READY set condition* is satisfied.
*: For READY set condition, refer to "READY SET CONDITION TABLE BY POWER SWITCH OPERATION" below.
NOTE:
- If a malfunction is detected in the Intelligent Key system, "I-KEY system fault" on information display appears. In this case, BCM does not transmits READY signal.
- When the Intelligent Key is carried outside of the vehicle (inside key antenna detection area) while the power switch position is ACC or ON, BCM does not transmits READY signal even if READY set condition* is satisfied.
8.When BCM receives feedback signal from VCM indicating that the vehicle is set to READY, BCM stops transmitting READY signal.

OPERATION RANGE

Vehicle can be set to READY when Intelligent Key is inside the vehicle. However, sometimes vehicle may not be set to READY when Intelligent Key is on instrument panel or in glove box.

READY SET OPERATION WHEN INTELLIGENT KEY IS CONTACTED TO POWER SWITCH

When Intelligent Key battery is discharged, the NVIS (NATS) ID verification between transponder integrated into Intelligent Key and BCM is performed when Intelligent Key backside is contacted to power switch. If the verification result is OK, vehicle can be set to READY.

READY SET CONDITION TABLE BY POWER SWITCH OPERATION

The vehicle can be set to READY by the following operations.
For details for the power supply position, refer to "POWER DISTRIBUTION SYSTEM : System
Description".
NOTE:
- When an Intelligent Key is within the detection area of inside key antenna and when Intelligent Key backside is contacted to power switch, it is equivalent to the operations below.
- When setting the vehicle to READY, the BCM monitors READY set conditions, - Brake pedal operating condition
- Shift position
- Vehicle speed
Vehicle speed: less than 4 km/h (2.5 MPH)





Vehicle speed: 4 km/h (2.5 MPH) or more