Curiosii for ever!: Car repair manuals for everyone.

Battery Current Sensor (With Battery Temperature Sensor)




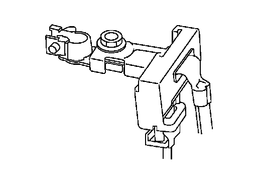
COMPONENT PARTS

Battery Current Sensor (With Battery Temperature Sensor)


OUTLINE






The power generation voltage variable control enables fuel consumption to be decreased by reducing the engine load which is caused by the power generation of the generator.
Based on sensor signals, ECM judges whether or not the power generation voltage variable control is performed. When performing the power generation voltage variable control, ECM calculates the target power generation voltage based on the sensor signal. And
ECM sends the calculated value as the power generation command value to IPDM E/R. For the details of the power generation voltage variable control, refer to"POWER GENERATION VOLTAGE VARIABLE CONTROL SYSTEM : System Description".

CAUTION:
Never connect the electrical component or the ground wire directly to the battery terminal. The connection causes the malfunction of the power generation voltage variable control, and then the battery discharge may occur.

BATTERY CURRENT SENSOR

The battery current sensor is installed to the battery negative cable. The sensor measures the charging/discharging current of the battery.

BATTERY TEMPERATURE SENSOR






Battery temperature sensor is integrated in battery current sensor.
The sensor measures temperature around the battery.
The electrical resistance of the thermistor decreases as temperature increases.