Curiosii for ever!
: Car repair manuals for everyone.
Home
>>
Nissan-Datsun
>>
2012
>>
Juke AWD L4-1.6L Turbo (MR16DDT)
>>
Repair and Diagnosis
>>
Heating and Air Conditioning
>>
Compressor HVAC
>>
Service and Repair
>>
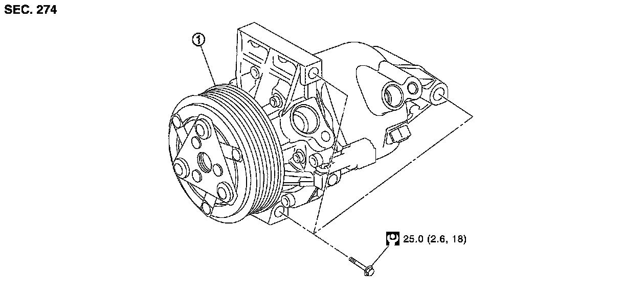
Exploded View
Exploded View
COMPRESSOR
Exploded View
REMOVAL
DISASSEMBLY