Curiosii for ever!
: Car repair manuals for everyone.
Home
>>
Nissan-Datsun
>>
2012
>>
Juke AWD L4-1.6L Turbo (MR16DDT)
>>
Repair and Diagnosis
>>
Body and Frame
>>
Frame
>>
Subframe
>>
Rear Subframe
>>
Service and Repair
>>
Removal and Replacement
>>
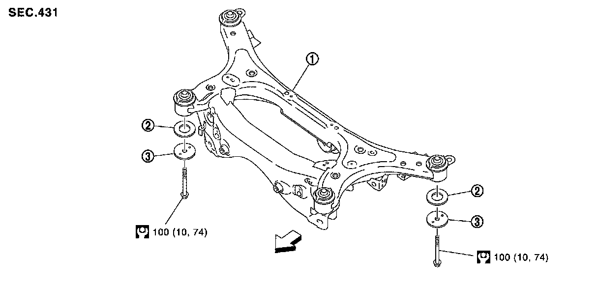
Exploded View
Exploded View
REAR
SUSPENSION
ASSEMBLY
Exploded View