Curiosii for ever!
: Car repair manuals for everyone.
Home
>>
Nissan-Datsun
>>
2012
>>
Juke AWD L4-1.6L Turbo (MR16DDT)
>>
Repair and Diagnosis
>>
Accessories and Optional Equipment
>>
Antitheft and Alarm Systems
>>
Description and Operation
>>
Intelligent Key System/Engine Start Function
>>
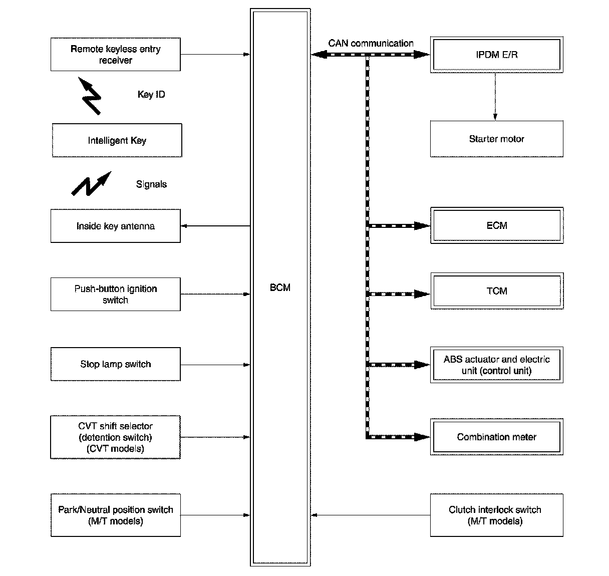
System Diagram
System Diagram
SYSTEM
INTELLIGENT KEY SYSTEM/ENGINE START FUNCTION : System Diagram