Curiosii for ever!: Car repair manuals for everyone.

System Description




SYSTEM

System Description


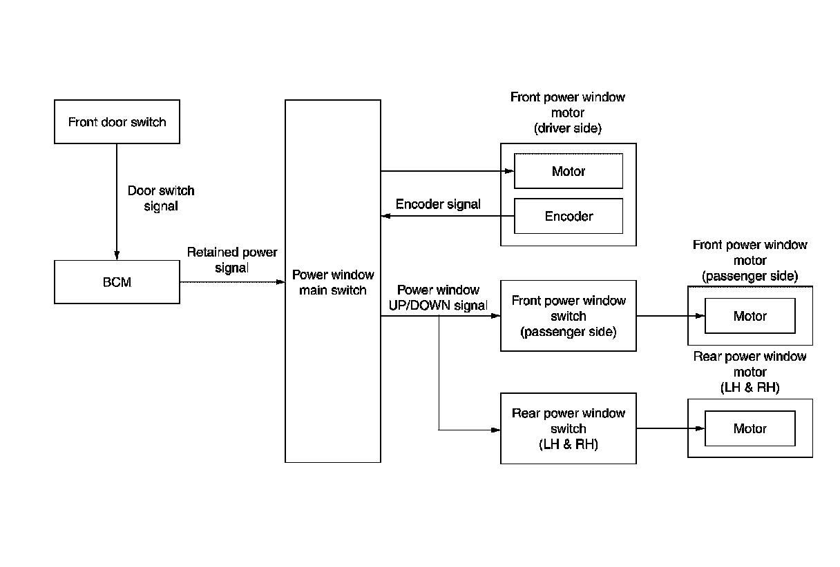
SYSTEM DIAGRAM







POWER WINDOW OPERATION

- Power window main switch can open/close all windows.
- Front & rear power window switch can open/close the corresponding windows.

POWER WINDOW AUTO-OPERATION (FRONT DRIVER SIDE)

- AUTO UP/DOWN operation can be performed when power window main switch turns to AUTO.
- Encoder continues detecting the movement of power window motor and transmits to power window switch as the encoder pulse signal while power window motor is operating.
- Power window switch reads the changes of encoder signal and stops AUTO operation when door glass is at fully opened/closed position.
- Power window motor is operable in case encoder is malfunctioning.

RETAINED POWER OPERATION

Retained power operation is an additional power supply function that enables power window system to operate for 45 seconds even when power switch is turned OFF.
RETAINED POWER CANCEL CONDITIONS
- Front door CLOSE (door switch OFF) OPEN (door switch ON).
- When power switch is ON again.
- When timer time passes. (45 seconds)

POWER WINDOW LOCK

Ground circuit inside power window main switch shuts off when power window lock switch is ON. This inhibits power window switch operation except with the power window main switch.

ANTI-PINCH SYSTEM (FRONT DRIVER SIDE)

- Pinch foreign material in the door glass during AUTO-UP operation, and it is the anti-pinch function that lowers the door glass 150 mm (5.9 in) when detected.
- Encoder continues detecting the movement of front power window motor (driver side) and transmits to power window main switch as the encoder pulse signal while front power window motor (driver side) is operating.
- Resistance is applied to the front power window motor (driver side) rotation that changes the frequency of encoder pulse signal if foreign material is trapped in the door glass.
- Power window main switch controls to lower the window glass for 150 mm (5.9 in) after it detects encoder pulse signal frequency change.
OPERATION CONDITION
- When front door glass (driver side) AUTO-UP operation is performed (anti-pinch function does not operate just before the door glass closes and is fully closed)
NOTE:
Depending on environment and driving conditions, if a similar impact or load is applied to the door glass, it may lower.