Curiosii for ever!: Car repair manuals for everyone.

Disassembly And Assembly




NORMAL CHARGE PORT

Disassembly and Assembly


DISASSEMBLY

Cover Side





1.Use a suitable tool (A) to remove the clip (1) that is attached to the pin.





2.Pull out pin (1) of charge port cover.

CAUTION:
When pin is pulled out, the spring will also jump out. Take care not to lose it.





3.Remove damper (1) from charge port cover.
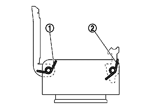
Lever Side





1.Use a suitable tool (A) to remove the clip (1) that is attached to the pin.





2.Press while removing pin (2) to ensure that spring (1) does not jump out, then remove lever.

ASSEMBLY

Note the following, and assemble in the reverse order of disassembly.

CAUTION:
- Never reuse the clips.
- Pay attention to direction that cover side damper is facing.





- Pay attention to direction that spring is facing.