Curiosii for ever!: Car repair manuals for everyone.

System Specifications

CYLINDER HEAD






Valve Dimensions






Valve Spring









Valve Guide






Valve Seat










CYLINDER BLOCK







Available Piston





Piston Ring






Piston Pin






CONNECTING ROD










CRANKSHAFT










MAIN BEARING










Undersize






Bearing Clearance







CONNECTING ROD BEARING







Undersize






Bearing Clearance







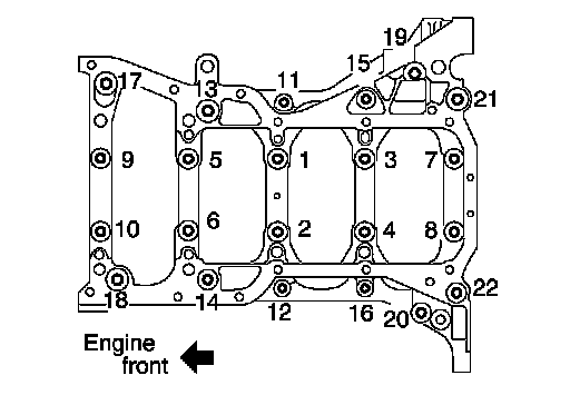
Main Bearing Cap






1. Tighten lower cylinder block bolts in the numerical order as shown and according to the following steps:

a. Apply new engine oil to threads and seat surfaces of the bolts.

b. Tighten bolts No. 11 - 22 only in the order as shown, to specification below.

Step 1, bolts 11 - 22 only : 25.1 N.m (2.6 kg-m, 19 ft-lb)

c. Tighten bolts No. 1 - 10 only in the order as shown, to specification below.

Step 2, bolts 1 - 10 only : 39.2 N.m (4.0 kg-m, 29 ft-lb)





d. Tighten bolts No. 1 - 10 only in the order as shown, to specification below using Tool.

CAUTION: Check tightening angle using Tool. Do not make judgment by visual inspection.

Tool number : KV 10112100 (BT-8653-A)

Step 3, bolts 1 - 10 only : 60° degrees rotation

Crankshaft Pulley

Tighten to initial specifications:

Crankshaft pulley bolt initial tightening : 37.3 - 47.1 N.m (3.8 - 4.8 kg-m, 28 - 34 ft-lb)