Curiosii for ever!: Car repair manuals for everyone.

System Specifications

Timing Chain Tensioner

Torque: 10.0 N.m (1.0 Kg-m, 89 in-lb)

Crankshaft Pulley

Tighten crankshaft pulley bolt in three steps.






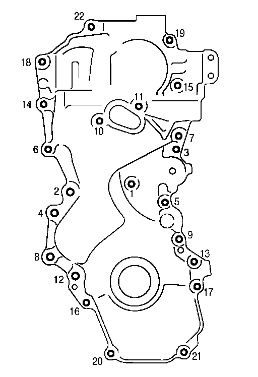
Timing Cover

Torque: 25.5 N.m (2.6 Kg-m, 19 ft-lb)






Tighten all bolts are in two stages to specified torque in numerical order as shown.