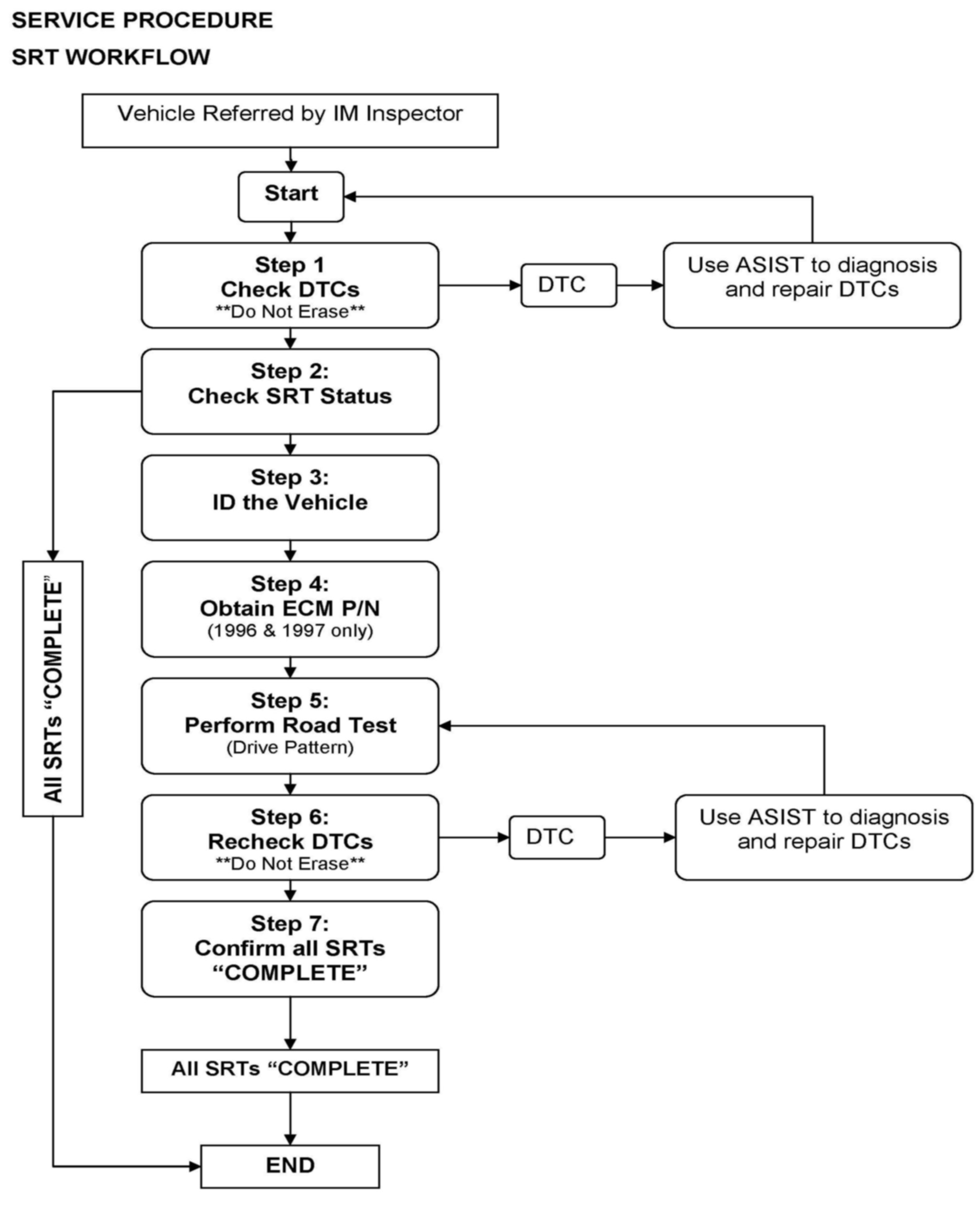
Service Procedure
SRT WORKFLOW
Step 1: Check for DTC
1. Use a CONSULT tool to check for any stored DTCs.
^ If any DTCs are stored they must be repaired at this time.
^ Refer to ASIST for diagnostic and repair information.
NOTE:
Normal warranty coverage will apply for DTC repairs.
2. If no DTCs are stored, go to the next step.
NOTE:
DO NOT touch "Erase" or you will lose previously completed SRTs.
Step 2: Check SRT Status
Check the SRT Status (Complete or Incomplete).
^ Use the appropriate CONSULT tool.
^ For older vehicles, a Generic Scan Tool may be needed to check SRT status.
NOTE:
In some cases, the normal driving that occurs between the time the vehicle was referred by the State Emissions Inspection Station and it is brought into the dealership for SRT evaluation may allow the ECM to complete the SRTs. If this occurs, no further action is necessary.
Always check SRT status before performing the SRT Drive Pattern.
Step 3: Identify the Vehicle
You must select the Drive Pattern that correctly corresponds with all variables for the vehicle being serviced refer to the information below in the image:
Step 4: Obtain ECM Part Number (1996 and 1997 models only)
1. Use a CONSULT tool to obtain the ECM part number.
2. Write the ECM part number in the space provided above.
3. Compare the vehicles ECM part number with the list of ECM part numbers provided in the Nissan SRT System Chart above to determine the Drive Pattern for the vehicle being inspected.
NOTE:
For 1996 and 1997 models; if the vehicles ECM part number does not match a part number listed on the SRT System Chart for that vehicle, either 1) the vehicle was identified incorrectly or 2) the vehicle has the wrong ECM installed. The SRT cannot be completed with the incorrect ECM.
Step 5: SRT Road Test (perform Drive Pattern)
To properly obtain SRT readings of "COMPLETE" it is necessary to drive the vehicle under the exact conditions required by the vehicle's ECM.
Be sure to select the correct Drive Pattern. The SRTs will not complete if the wrong drive pattern for that vehicle is used.
1. Select the Drive Pattern based on the Vehicle Identification (see Step 3).
^ For 1996 and 1997 vehicles:
> This bulletin contains a specific Driving Pattern for every 1996 and 1997 Nissan vehicle.
> Use the "Bookmark" on the left side of the ASIST screen to choose the correct model and year.
> Verify that the vehicle ECM P/N matches EXACTLY an ECM P/N listed on the Drive Pattern sheet you chose.
> Print the Drive Pattern to take with you.
^ For 1998 and newer vehicles, refer to the EC section in the appropriate Service Manual for the required Drive Pattern. It is listed under On-Board Diagnostics> System Readiness Test.
> Print the Drive Pattern to take with you.
2. Prior to driving the vehicle, review the Drive Pattern and prepare to complete it from start to finish:
^ Review the Pre-Check items listed on the drive pattern and ensure all conditions are met.
^ Determine the vehicle speeds required by the drive pattern.
^ Plan your route to minimize traffic and traffic signals that might interrupt the Drive Pattern tasks.
^ Review the Drive Pattern section(s) that must be restarted if you are interrupted.
^ Do not use the ASCD (cruise control) during any section of the Drive Pattern that contains the "No ASCD" symbol.
^ Some EVAP-equipped vehicles will require that fuel be added to the tank between the first and second trip. Be prepared to purchase fuel or plan your route to accommodate this step.
^ For these EVAP-equipped vehicles, begin the road test with less than 1/2 tank of fuel. If the fuel level is greater than 1/2, more time may be required to complete the EVAP sections of the Drive Pattern and you may not be able to add fuel as required.
3. Review the Drive Pattern for any input signals that need to be monitored during the drive.
If needed, Connect a CONSULT tool to the vehicle to monitor required signals.
NOTE:
^ Monitor the Fuel Temperature if the EVAP SRT is "INCOMPLETE". One part of the EVAP SRT diagnostic logic requires a 3°C increase in fuel temperature from the time the ignition key is turned to "ON" as part of the test criteria. Fluctuations in the fuel temperature reading can extend the time required for the EVAP SRT to indicate "COMPLETE". If the fuel temperature change is not sufficient after completing the SRT Drive pattern, idle the vehicle until a fuel temperature increase of at least 3°C is noted or until the EVAP SRT indicates "COMPLETE".
^ If the fuel temperature increases 3°C or more but the SRT still indicates "INCOMPLETE", the SRT Drive Pattern may need to be repeated.
4. Note the following items before starting the Drive Pattern:
^ IMPORTANT:
Nissan requires using a driver and an assistant to conduct SRT driving patterns. The assistant should read the Drive Pattern, CONSULT data, and drive time and convey driving instruction to the driver. It is the driver's responsibility to observe and react to traffic conditions. Always drive the vehicle in a safe manner and obey all traffic laws.
^ To ensure all ECM Self Test requirements are met, drive the ENTIRE pattern whenever any SRT items indicate "INCOMPLETE".
^ Some vehicles require that sections of the Drive Pattern be driven two times to satisfy the "self diagnosis two trip logic". For vehicles that require two trips, the pre-check engine coolant temperature must be met before beginning Section 1 of the second trip.
5. Perform the Drive Pattern:
a. Make sure all Pre-Check conditions are met.
b. Drive the vehicle and carefully follow the specific instructions and time requirements listed in each section of the Drive Pattern.
NOTE: If you monitor the (B/FUEL SCHDL):
^ The Base Fuel Schedule (B/FUEL SCHDL) is an indication of engine load.
^ It will be easier to match high B/FUEL SCHDL values when driving up slight hills in the recommended gear range.
^ It will be easier to match low B/FUEL SCHDL values when driving down slight hills in the recommended gear range.
^ Turning the A/C compressor ON will increase the B/FUEL SCHDL value, while turning it OFF will decrease the B/FUEL SCHDL value.
Step 6: Recheck for DTC
Upon completion of the Drive Pattern, determine if any DTCs have been stored. Only in rare cases will this occur.
^ If a DTC has been stored after completing the Drive Pattern, it must be repaired. Refer to ASIST for diagnostic and repair information.
NOTE:
Normal warranty coverage will apply for DTC repairs.
^ Once the DTC is repaired, erase the stored DTC. Turn the ignition OFF for 10 seconds, and then repeat the entire Drive Pattern (Step 5) to "COMPLETE" the SRTs.
^ If no DTCs have been stored, DO NOT touch "Erase" or all SRT items will reset to "INCOMPLETE".
Step 7: Confirm All SRTs "COMPLETE"
If all SRT items indicate "COMPLETE", the inspection is complete.
^ If Catalyst and/or 02 Sensor Monitors show "INCOMPLETE" perform step A or B below.
A. Check Self Learning Value and A/F ALPHA. If either value is +10% or more above target of 100%, clear Self Learning Value.
^ Perform DTC diagnosis for P0171 or P0174 and check for the following possible causes:
> Intake air leaks
> Front heated oxygen sensors
> Injectors
> Exhaust gas leaks
> Incorrect fuel pressure
> Lack of fuel
> Mass air flow sensor
A. Check Self Learning Value and A/F ALPHA. If either value is -10% or more below target of 100%, clear Self Learning Value.
^ Perform DTC diagnosis for P0172 or P0175 and check for the following possible causes:
> Intake air leaks
> Front heated oxygen sensors
> Injectors
> Exhaust gas leaks
> Incorrect fuel pressure
> Lack of fuel
> Mass air flow sensor
^ After repairs have been made, run the prescribed drive pattern and check that A/F ALPHA is within +/- 10% of the target of 100% during the steady state portions of the drive cycle. If it is not, then continue repairs. If it is, return to STEP 5.