Curiosii for ever!: Car repair manuals for everyone.

Service Limits & General Specifications

CRANKSHAFT END PLAY





^ Measure the clearance between thrust bearings and crankshaft arm when crankshaft is moved fully forward or backward with a dial indicator (A).
Standard: 0.10 - 0.26 mm (0.0039 - 0.0102 in)
Limit: 0.30 mm (0.012 in)
^ If the measured value exceeds the limit, replace thrust bearings, and measure again. If it still exceeds the limit, replace crankshaft also.

CONNECTING ROD SIDE CLEARANCE





^ Measure the side clearance between connecting rod and crankshaft arm with a feeler gauge (A).
Standard: 0.20 - 0.35 mm (0.0079 - 0.0138 in)
Limit: 0.40 mm (0.0157 in)
^ If the measured value exceeds the limit, replace connecting rod, and measure again. If it still exceeds the limit, replace crankshaft also.

PISTON TO PISTON PIN OIL CLEARANCE
Piston Pin Hole Diameter





Measure the inner diameter of piston pin hole with an inside micrometer (A).
Standard: 19.993 - 19.999 mm (0.7871 - 0.7874 in)

Piston Pin Outer Diameter





Measure the outer diameter of piston pin with a micrometer (A).
Standard: 19.989 - 19.995 mm (0.7870 - 0.7872 in)

Piston to Piston Pin Oil Clearance
(Piston to piston pin oil clearance) = (Piston pin hole diameter) - (Piston pin outer diameter)
Standard: 0.002 - 0.006 mm (0.0001 - 0.0002 in)
^ If oil clearance is out of the standard, replace piston and piston pin assembly.
^ When replacing piston and piston pin assembly, refer to "Piston to Cylinder Bore Clearance".

NOTE:
^ Piston is available together with piston pin as assembly.
^ Piston pin (piston pin hole) grade is provided only for the parts installed at the plant. For service parts, no grades can be selected. (Only grade "0" is available.)

PISTON RING SIDE CLEARANCE





^ Measure the side clearance of piston ring and piston ring groove with a feeler gauge (A).
Standard:
Top ring: 0.04 - 0.08 mm (0.002 - 0.003 in)
2nd ring: 0.03 - 0.07 mm (0.001 - 0.003 in)
Oil ring: 0.015 - 0.185 mm (0.001 - 0.007 in)
Limit:
Top ring: 0.11 mm (0.0043 in)
2nd ring: 0.10 mm (0.0039 in)
^ If the measured value exceeds the limit, replace piston ring, and measure again. If it still exceeds the limit, replace piston also.

PISTON RING END GAP
^ Make sure that cylinder bore inner diameter is within specification.





^ Lubricate with new engine oil to piston (1) and piston ring (2), and then insert (A) piston ring until middle of cylinder (B) with piston, and measure piston ring end gap with a feeler gauge (C).
Standard:
Top ring: 0.20 - 0.30 mm (0.008 - 0.012 in)
2nd ring: 0.50 - 0.65 mm (0.020 - 0.026 in)
Oil ring (rail ring): 0.15 - 0.45 mm (0.006 - 0.018 in)
Limit:
Top ring: 0.51 mm (0.020 in)
2nd ring: 0.83 mm (0.033 in)
Oil ring (rail ring): 0.78 mm (0.031 in)
^ If the measured value exceeds the limit, replace piston ring, and measure again. If it still exceeds the limit, re-bore cylinder and use oversized piston and piston rings.

CONNECTING ROD BEND AND TORSION





^ Check with a connecting rod aligner.
C: Feeler gauge
Bend (A):
Limit: 0.15 mm (0.0059 in) per 100 mm (3.94 in) length
Torsion (B):
Limit: 0.30 mm (0.0118 in) per 100 mm (3.94 in) length
^ If it exceeds the limit, replace connecting rod assembly.

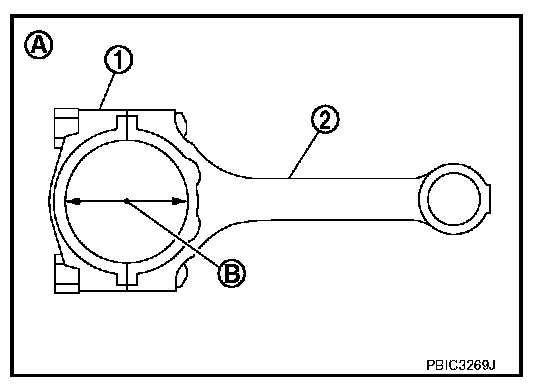
CONNECTING ROD BIG END DIAMETER





^ Install connecting rod cap (1) without connecting rod bearing installed, and tightening connecting rod bolts to the specified torque.
2: Connecting rod
A: Example
B: Measuring direction of inner diameter
^ Measure the inner diameter of connecting rod big end with an inside micrometer.
Standard: 47.000 - 47.013 mm (1.8504 - 1.8509 in)
^ If out of the standard, replace connecting rod assembly.

CONNECTING ROD BUSHING OIL CLEARANCE
Connecting Rod Bushing Inner Diameter





Measure the inner diameter of connecting rod bushing with an inside micrometer (A).
Standard: 20.000 - 20.012 mm (0.7874 - 0.7879 in)

Piston Pin Outer Diameter





Measure the outer diameter of piston pin with a micrometer (A).
Standard: 19.989 - 19.995 mm (0.7870 - 0.7872 in)

Connecting Rod Bushing Oil Clearance
(Connecting rod bushing oil clearance) = (Connecting rod bushing inner diameter) - (Piston pin outer diameter)
Standard: 0.005 - 0.023 mm (0.0002 - 0.0009 in)
Limit: 0.03 mm (0.0012 in)
^ If the measured value is out of the standard, replace connecting rod assembly and/or piston and piston pin assembly.
^ If replacing piston and piston pin assembly, refer to "PISTON TO PISTON PIN OIL CLEARANCE".
^ If replacing connecting rod assembly, refer to "Connecting Rod Bushing Oil Clearance" to select connecting rod bearing.

CYLINDER BLOCK TOP SURFACE DISTORTION
^ Using a scraper, remove gasket on the cylinder block surface, and also remove engine oil, scale, carbon, or other contamination.

CAUTION: Be careful not to allow gasket flakes to enter engine oil or engine coolant passages.





^ Measure the distortion on the cylinder block upper face at some different points in six directions with a straight edge (A) and feeler gauge (B).
Limit: 0.1 mm (0.004 in)
^ If it exceeds the limit, replace cylinder block.

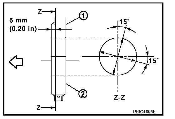
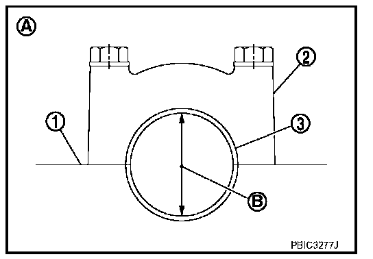
MAIN BEARING HOUSING INNER DIAMETER
^ Install main bearing cap without main bearings installed, and tighten main bearing cap bolts to the specified torque.
^ Measure the inner diameter of main bearing housing with a bore gauge.





^ Measure the position shown [5 mm (0.20 in)] backward from main bearing housing front side in the 2 directions as shown. The smaller one is the measured value.
1: Cylinder block
2: Main bearing cap
<-: Engine front
Standard: 55.997 - 56.017 mm (2.2046 - 2.2054 in)
^ If out of the standard, replace cylinder block and main bearing caps assembly.

NOTE: Main bearing caps cannot be replaced as a single, because it is machined together with cylinder block.

PISTON TO CYLINDER BORE CLEARANCE
Cylinder Bore Inner Diameter





^ Using a bore gauge (A), measure the cylinder bore for wear, out-of-round and taper at six different points on each cylinder. ("X" and "Y" directions at "A", "B" and "C") ("Y" is in longitudinal direction of engine)

NOTE: When determining cylinder bore grade, measure the cylinder bore "X" direction at "B" position.

Standard inner diameter: 84.000 - 84.020 mm (3.3071 - 3.3079 in)
Out-of-round (Difference between "X" and "Y"): 0.015 mm (0.0006 in)
Taper limit (Difference between "A" and "C"): 0.01 mm (0.0004 in)
^ If the measured value exceeds the limit, or if there are scratches and/or seizure on the cylinder inner wall, replace cylinder block.

NOTE: Oversize piston is not provided.

Piston Skirt Diameter





Measure the outer diameter of piston skirt with a micrometer (A).
Measure point: Distance from the top 39.9 mm (1.571 in)
Standard: 83.970 - 83.990 mm (3.3059 - 3.3067 in)

Piston to Cylinder Bore Clearance
Calculate by piston skirt diameter and cylinder bore inner diameter (direction "X", position "B"). (Clearance) = (Cylinder bore inner diameter) - (Piston skirt diameter)
Standard: 0.020 - 0.040 mm (0.0008 - 0.0016 in)
Limit: 0.08 mm (0.0031 in)
^ If it exceeds the limit, replace piston and piston pin assembly and/or cylinder block.

CONNECTING ROD BEARING OIL CLEARANCE
Method by Calculation





^ Install connecting rod bearings (2) to connecting rod (3) and connecting rod bearing cap (1), and tighten connecting rod bolts to the specified torque.
A: Example
B: Inner diameter measuring direction
^ Measure the inner diameter of connecting rod bearing with an inside micrometer.
(Bearing oil clearance) = (Connecting rod bearing inner diameter) - (Crankshaft pin journal diameter)
Standard: 0.037 - 0.047 mm (0.0015 - 0.0019 in)
Limit: 0.07 mm (0.0028 in)
^ If clearance exceeds the limit, select proper connecting rod bearing according to connecting rod big end diameter and crankshaft pin journal diameter to obtain specified bearing oil clearance.

Method of Using Plastigage
^ Remove engine oil and dust on crankshaft pin and the surfaces of each bearing completely.
^ Cut a plastigage slightly shorter than the bearing width, and place it in crankshaft axial direction, avoiding oil holes.
^ Install connecting rod bearings to connecting rod and cap, and tighten connecting rod bolts to the specified torque.

CAUTION: Never rotate crankshaft.





^ Remove connecting rod cap and bearing, and using the scale (A) on the plastigage bag, measure the plastigage width.

NOTE: The procedure when the measured value exceeds the limit is same as that described in the "Method by Calculation".

MAIN BEARING OIL CLEARANCE
Method by Calculation





^ Install main bearings (3) to cylinder block (1) and main bearing cap (2), and tighten main bearing cap bolts to the specified torque.
A: Example
B: Inner diameter measuring direction
^ Measure the inner diameter of main bearing with a bore gauge. (Bearing oil clearance) = (Main bearing inner diameter) - (Crankshaft main journal diameter)
Standard:
No. 1, 4 and 5 journals: 0.024 - 0.034 mm (0.0009 - 0.0013 in)
No. 2 and 3 journals: 0.012 - 0.022 mm (0.0005 - 0.0009 in)
Limit: 0.065 mm (0.0026 in)
^ If clearance exceeds the limit, select proper main bearing according to main bearing inner diameter and crankshaft main journal diameter to obtain specified bearing oil clearance.

Method of Using Plastigage
^ Remove engine oil and dust on crankshaft main journal and the surfaces of each bearing completely.
^ Cut a plastigage slightly shorter than the bearing width, and place it in crankshaft axial direction, avoiding oil holes.
^ Install main bearings to cylinder block and main bearing cap, and tighten main bearing cap bolts to the specified torque.

CAUTION: Never rotate crankshaft.





^ Remove main bearing cap and bearings, and using the scale (A) on the plastigage bag, measure the plastigage width.

NOTE: The procedure when the measured value exceeds the limit is same as that described in the "Method by Calculation".

MAIN BEARING CRUSH HEIGHT





^ When main bearing cap is removed after being tightened to the specified torque with main bearings (1) installed, the tip end of bearing must protrude (B).
A: Example
Standard: There must be crush height.
^ If the standard is not met, replace main bearings.

CONNECTING ROD BEARING CRUSH HEIGHT





^ When connecting rod bearing cap is removed after being tightened to the specified torque with connecting rod bearings (1) installed, the tip end of bearing must protrude.
A: Example
Standard: There must be crush height.
^ If the standard is not met, replace connecting rod bearings.





CYLINDER BLOCK