Curiosii for ever!: Car repair manuals for everyone.

Spark Plug: Service and Repair

IGNITION COIL, SPARK PLUG AND ROCKER COVER

Exploded View EM-32:





Removal and Installation
REMOVAL
1. Remove intake manifold.
2. Remove ignition coil.

CAUTION:
^ Handle it carefully and avoid impacts.
^ Never disassemble.






3. Remove spark plug using suitable tool.

CAUTION: Never drop or shock it.





4. Remove rocker cover.
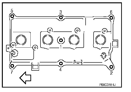
^ Loosen bolts in reverse order as shown.
^ <- Engine front

INSPECTION AFTER REMOVAL





CAUTION:
^ Never drop or shock spark plug.
^ Checking and adjusting spark plug gap is not required between change intervals.
^ If spark plug tip is covered with carbon, a spark plug cleaner may be used.
Cleaner air pressure: Less than 588 kPa (5.88 bar, 6 kg/cm2, 85 psi)
Cleaning time: Less than 20 seconds





^ Never use wire brush for cleaning spark plug.


INSTALLATION
1. Install rocker cover gasket to rocker cover.





2. Install rocker cover.
^ Tighten bolts in two steps separately in numerical order as shown.
1st step: 1.96 Nm (0.20 kg-m, 17 in-lb)
2nd step: 8.33 Nm (0.85 kg-m, 73 in-lb)
^ <- Engine front

CAUTION: Check if rocker cover gasket is not dropped from the installation groove of rocker cover.





3. Install spark plug using suitable tool.
Plug type: Platinum tipped
Make: NGK
Part number: PLZKAR6A-11
Gap (nominal): 1.1 mm (0.043 in)

CAUTION: Never drop or shock it.

4. Install ignition coil.

CAUTION:
^ Handle it carefully and avoid impacts.
^ Never disassemble.


5. Install intake manifold.