Curiosii for ever!: Car repair manuals for everyone.

Service Limits & General Specifications

PISTON AND PISTON PIN CLEARANCE





1. Measure inner diameter of piston pin hole inner diameter dp.
Piston pin hole inner diameter dp: 18.993 - 19.005 mm (0.7478 - 0.7482 inch)





2. Measure piston pin outer diameter dp.
Piston pin outer diameter Dp: 18.989 - 19.001 mm (0.7476 - 0.7481 inch)
3. Calculate piston pin clearance Dp - dp.
Piston pin to piston clearance: 0.002 - 0.006 mm (0.0001 - 0.0002 inch)
If it exceeds the above value, replace piston assembly with pin.

PISTON RING SIDE CLEARANCE





Side clearance
Top ring: 0.045 - 0.080 mm (0.0018 - 0.0031 inch)
2nd ring: 0.030 - 0.070 mm (0.0012 - 0.0028 inch)
Oil ring: 0.065 - 0.135 mm (0.0026 - 0.0053 inch)
Limit: 0.2 mm (0.008 inch)
If out of specification, replace piston and/or piston ring assembly.

PISTON RING END GAP





End gap
Top ring: 0.20 - 0.39 mm (0.0079 - 0.0154 inch)
2nd ring: 0.32 - 0.56 mm (0.0126 - 0.0220 inch)
Oil ring: 0.20 - 0.69 mm (0.0079 - 0.0272 inch)
Limit of end gap
Top ring: 0.49 mm (0.0193 inch)
2nd ring: 0.64 mm (0.0252 inch)
Oil ring: 1.09 mm (0.0429 inch)
^ If out of specification, replace piston ring. If gap exceeds maximum limit with a new ring, rebore cylinder and use oversized piston and piston rings. Refer to Piston, Piston Ring and Piston Pin.
^ When replacing the piston, check the cylinder block surface for scratches or seizure. If scratches or seizure is found, hone or replace the cylinder block.

CONNECTING ROD BEND AND TORSION





Bend Limit: 0.15 mm (0.0059 inch) per 100 mm (3.94 inch) length
Torsion Limit: 0.3 mm (0.012 inch) per 100 mm (3.94 inch) length





If it exceeds the limit, replace connecting rod assembly.

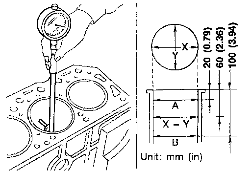
CYLINDER BLOCK DISTORTION AND WEAR





1. Clean upper surface of cylinder block.
2. Use a reliable straightedge and feeler gauge to check the flatness of cylinder block surface. Check along six positions shown in figure.
Block surface flatness
Standard: Less than 0.03 mm (0.0012 inch)
Limit: 0.1 mm (0.004 inch)
^ If out of specification, resurface it.





^ The limit for cylinder block resurfacing is determined by the amount of cylinder head resurfacing. Amount of cylinder head resurfacing is A. Amount of cylinder block resurfacing is B.
The maximum limit is as follows A + B: 0.2 mm (0.008 inch)
Nominal cylinder block height from crankshaft center: 213.95 - 214.05 mm (8.4232 - 8.4271 inch)
^ If necessary, replace cylinder block.

PISTON-TO-BORE CLEARANCE





1. Using a bore gauge, measure cylinder bore for wear, out-of-round and taper. The Y axis is in the longitudinal direction of the engine.
Standard inner diameter (Grade No. 1): 80.000 - 80.010 mm (3.1496 - 3.1500 inch)
Wear limit: 0.2 mm (0.008 inch)
Out-of-round (X - Y) standard: Less than 0.015 mm (0.0006 inch)
Taper (B - A) standard: Less than 0.01 mm (0.0004 inch)
If it exceeds the limit, rebore all cylinders. Replace cylinder block if necessary.





2. Check for score and seizure. If seizure is found, hone it.

NOTE: If cylinder block or piston is replaced, match piston grade with grade number on cylinder block lower surface.





3. Measure piston skirt diameter.
Piston diameter A: Refer to Piston, Piston Ring and Piston Pin.
Measuring point a (Distance from the top): 42.3 mm (1.665 inch)
4. Check that piston-to-bore clearance is within specification.
Piston-to-bore clearance = cylinder bore measurement B - Piston diameter A: 0.025 - 0.045 mm (0.0010 - 0.0018 inch)
5. Determine piston oversize according to amount of cylinder wear.
^ Oversize pistons are available for service. Refer to Piston, Piston Ring and Piston Pin.
6. Cylinder bore size is determined by adding piston-to-bore clearance to piston diameter A.
Rebored size calculation
D=A+B-C where:
D: Bored diameter
A: Piston diameter as measured
B: Piston-to-bore clearance
C: Honing allowance 0.02 mm (0.0008 inch)
7. Install main bearing caps and tighten bolts to the specified torque. This will prevent distortion of cylinder bores.
8. Cut cylinder bores.
^ When any cylinder needs boring, all other cylinders must also be bored.
^ Do not cut too much out of cylinder bore at a time. Cut only 0.05 mm (0.0020 inch) or so at a time.
9. Hone cylinders to obtain specified piston-to-bore clearance.
10. Measure finished cylinder bore for out-of-round and taper.
^ Measurement should be done after cylinder bore cools down.

BEARING CLEARANCE
Use Method A or Method B. Method A is preferred because it is more accurate. Method A (Using bore gauge and micrometer)

Main bearing





1. Set main bearings in their proper positions on cylinder block and main bearing cap.
2. Install main bearing cap to cylinder block. Tighten all bolts in correct order in two or three steps. Refer to Assembly.





3. Measure inner diameter A of each main bearing.





4. Measure outer diameter Dm of each main journal in crankshaft.
5. Calculate main bearing clearance.
Main bearing clearance = A - Dm
Standard: 0.018 - 0.042 mm (0.0007 - 0.0017 inch)
Limit: 0.1 mm (0.004 inch)
^ If it exceeds the limit, replace bearing.
^ If clearance cannot be adjusted within standard of any bearing, grind crankshaft journal and use undersized bearing.

When grinding crank pin and crank journal:
^ Grind until clearance is within specified standard bearing clearance.





^ Fillets should be finished as shown in the figure. R: 2.3 - 2.5 mm (0.091 - 0.098 inch)

Refer to Bearing Clearance for standard bearing clearance and available spare parts.





6. If the crankshaft is replaced, select thickness of main bearings as follows:
a. Grade number of each cylinder block main journal is punched on the respective cylinder block. These numbers are punched in either Arabic or Roman numerals.





b. Grade number of each crankshaft main journal is punched on the respective crankshaft. These numbers are punched in either Arabic or Roman numerals.





c. Select main bearing with suitable thickness according to the following table.





Main bearing grade color

For example: Cylinder block main journal grade number: 1
Crankshaft main journal grade number: 2
Main bearing grade number= 1 + 2 = 3 (Yellow)

Connecting Rod Bearing (Big End)





1. Install connecting rod bearing to connecting rod and cap.
2. Install connecting rod cap to connecting rod.





3. Install connecting rod caps.
a. Apply new engine oil to bolt threads and nut seating surfaces.
b. Tighten connecting rod cap nuts in two steps:
Step 1: 13.72 - 15.68 Nm (1.399 - 1.599 kg-m, 10.120 - 11.566 ft. lbs.)
Step 2: 35 - 40 degrees clockwise, or 23 - 28 Nm (2.3 - 2.9 kg-m, 17 - 21 ft. lbs.)
4. Measure inner diameter C of each bearing.





5. Measure outer diameter Dp of each crankshaft pin journal.
6. Calculate connecting rod bearing clearance.
Connecting rod bearing clearance = C - Dp
Standard: 0.014 - 0.039 mm (0.0006 - 0.0015 inch)
Limit: 0.1 mm (0.004 inch)
^ If it exceeds the limit, replace bearing.
^ If clearance cannot be adjusted using any standard bearing grade, grind crankshaft journal and use undersized bearing. Refer to Bearing Clearance.





^ If a new bearing, crankshaft or connecting rod is replaced, select connecting rod bearing according to the following table.

NOTE: These numbers are punched in either Arabic or Roman numerals.





Connecting rod bearing grade number

Method B (Using Plastigage)





CAUTION:
^ Do not turn crankshaft or connecting rod while Plastigage is being inserted.
^ If incorrect bearing clearance exists, use a thicker or under sized main bearing to ensure specified clearance.

CONNECTING ROD BUSHING CLEARANCE (SMALL END)





1. Measure inner diameter C of bushing.





2. Measure outer diameter Dp of piston pin.
3. Calculate piston pin to connecting rod bushing clearance.
Piston pin to connecting rod bushing clearance = C - Dp
Standard: 0.005 - 0.017 mm (0.0002 - 0.0007 inch)
Limit: 0.023 mm (0.0009 inch)
^ If it exceeds the limit, replace connecting rod assembly or connecting rod bushing and/or piston pin.

REPLACEMENT OF CONNECTING ROD BUSHING (SMALL END)





1. Drive in small end bushing until it is flush with end surface of rod.

CAUTION: Be sure to align the oil holes.

2. Ream the bushing so that clearance with piston pin is within specification.
Piston pin to connecting rod bushing clearance
Standard: 0.005 - 0.017 mm (0.0002 - 0.0007 inch)
Limit: 0.023 mm (0.0009 inch)





Cylinder Block