System Description
BCM (BODY CONTROL MODULE)System Description
- BCM (Body Control Module) controls the operation of various electrical units installed on the vehicle.
BCM FUNCTION
BCM has a combination switch reading function for reading the operation of combination switches (light, wiper washer, turn signal) in addition to the function for controlling the operation of various electrical components. Also, it functions as an interface that receives signals from the A/C control unit (with manual A/C), A/C auto amplifier (with auto A/C), and sends signals to ECM using CAN communication.
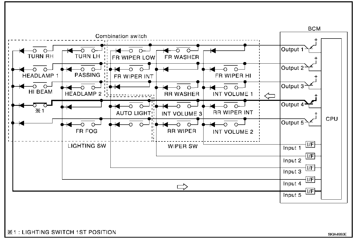
COMBINATION SWITCH READING FUNCTION
1. Description
- BCM reads combination switch (light, wiper) status, and controls various electrical components according to the results.
- BCM reads information of a maximum of 20 switches by combining five output terminals (OUTPUT 1 - 5) and five input terminals (INPUT 1 - 5).
2. Operation description
- BCM activates transistors of output terminals (OUTPUT 1-5) periodically and allows current to flow in turn.
- If any (1 or more) of the switches are turned ON, circuit of output terminals (OUTPUT 1-5) and input terminals (INPUT 1-5) becomes active.
- At this time, transistors of output terminals (OUTPUT 1 - 5) are activated to allow current to flow. When voltage of input terminals (INPUT 1-5) corresponding to that switch changes, interface in BCM detects voltage change and BCM determines that switch is ON.
3. BCM - Operation table of combination switch
- BCM reads operation status of combination switch by the combination shown in the given table.
4. Example operation: (When lighting switch 1st position turned ON)
- When lighting switch 1st position is turned ON, contact in combination switch turns ON. At this time if OUTPUT 4 transistor is activated, BCM detects that voltage changes in INPUT 5.
- When OUTPUT 4 transistor is ON, BCM detects that voltage changes in INPUT 5, and judges lighting switch 1st position is ON. Then BCM sends tail lamp ON signal to IPDM E/R using CAN communication.
- When OUTPUT 4 transistor is activated again, BCM detects that voltage changes in INPUT 5 and recognizes that lighting switch 1st position is continuously ON.
NOTE: Each OUTPUT terminal transistor is activated at 10 ms intervals. Therefore, after a switch is turned ON, electrical loads are activated with a time delay. But this time delay is so short that it cannot be noticed.
5. Operation mode
- Combination switch reading function has operation modes as follows:
Normal status
- When BCM is not in sleep status, OUTPUT terminals (1 - 5) each turn ON-OFF every 10 ms.
Sleep status
- When BCM is in sleep mode, transistors of OUTPUT 1 and 5 stop the output, and BCM enters low-current-consumption mode. OUTPUTS (2, 3, and 4) turn ON-OFF at 10 ms intervals, and receives lighting switch input only.
CAN COMMUNICATION CONTROL
CAN communication allows a high rate of information through the two communication lines (CAN L-line, CAN H-line) connecting the various control units in the system. Each control unit transmits/receives data, but selectively reads required data only.
BCM STATUS CONTROL
BCM changes its status depending on the operation status in order to save power consumption.
1. CAN communication status
- With ignition switch ON, CAN communicates with other control units normally.
- Control by BCM is being operated properly.
- When ignition switch is OFF, switching to sleep mode is possible.
- Even when ignition switch is OFF, if CAN communication with IPDM E/R and combination meter is active, CAN communication status is active.
2. Sleep transient status
- This status shuts down CAN communication when ignition switch is turned OFF.
- It transmits sleep request signal to IPDM E/R and combination meter.
- Two seconds after CAN communication of all control units stops, CAN communication switches to inactive status.
3. CAN communication inactive status
- With ignition switch OFF, CAN communication is not active.
- With ignition switch OFF, control performed only by BCM is active.
- Three seconds after CAN communication of all control units stops, CAN communication switches to inactive status.
4. Sleep status
- BCM is activated with low current consumption mode.
- CAN communication is not active.
- When CAN communication operation is detected, it switches to CAN communication status.
- When a state of the following switches changes, it switches to CAN communication state:
- Key switch
- Hazard switch
- Door lock/unlock switch
- Front door switch (LH, RH)
- Rear door switch (LH, RH)
- Trunk switch
- Combination switch (passing, lighting switch 1st position, front fog lamp)
- Key fob (lock/unlock signal)
- Key cylinder switch
- When control performed only by BCM is required by switch, it shifts to CAN communication inactive mode.
- Status of combination switch reading function is changed.
SYSTEMS CONTROLLED BY BCM DIRECTLY
- Power door lock system.
- Remote keyless entry system.
- Power window system.
- Sunroof system.
- Room lamp timer.
- Warning chime system.
- Turn signal and hazard warning lamps system.
- Front wiper and washer system.
NOTE: Power supply only. No system control.
SYSTEMS CONTROLLED BY BCM AND IPDM E/R
- Panic system.
- Vehicle security system.
- NVIS (NATS) system.
- Headlamp, tail lamp, auto light and battery saver control systems.
- Front wiper and washer system.
- Rear window defogger system.
Part 1:
Part 2:
MAJOR COMPONENTS AND CONTROL SYSTEM