Curiosii for ever!: Car repair manuals for everyone.

Electronic Throttle Actuator Relay: Testing and Inspection

Component Inspection




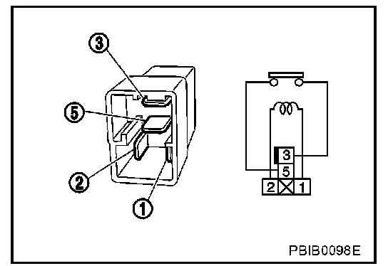
THROTTLE CONTROL MOTOR RELAY
1. Apply 12V direct current between relay terminals 1 and 2.




2. Check continuity between relay terminals 3 and 5.
3. If NG, replace throttle control motor relay.