Curiosii for ever!
: Car repair manuals for everyone.
Home
>>
Nissan-Datsun
>>
2000
>>
Altima GLE L4-2.4L (KA24DE)
>>
Repair and Diagnosis
>>
Diagrams
>>
Exploded Views
>>
Engine
>>
System Diagram
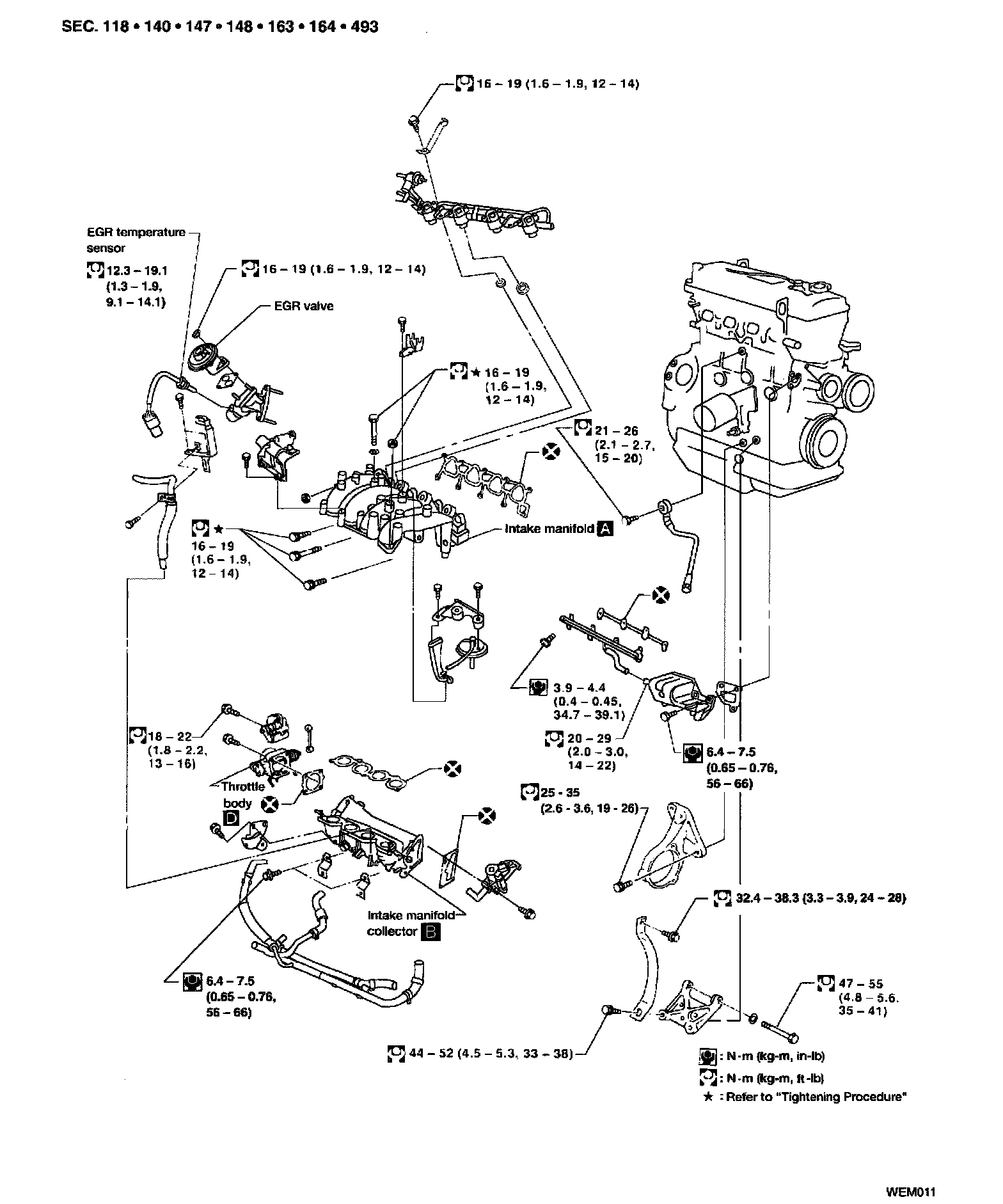
System Diagram
OUTER COMPONENT PARTS
Part 1 Of 2:
Part 2 Of 2:
Tightening Procedure: