Curiosii for ever!: Car repair manuals for everyone.

Main Relay (Computer/Fuel System): Description and Operation

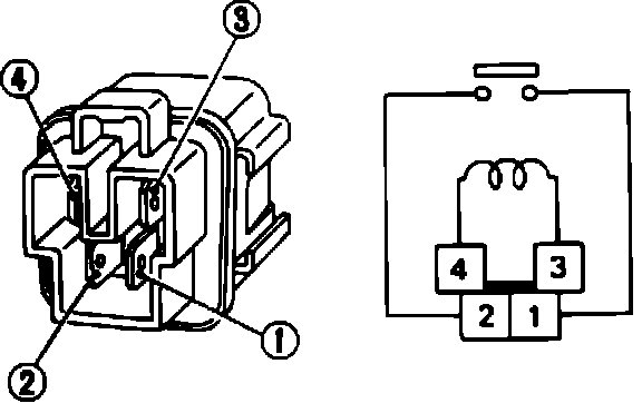
Main Relay:





PURPOSE
The ECCS relay provides operating power to the Electronic Control Module (ECM).



OPERATION
The ECCS relay coil receives 12VDC from a fuse link and is grounded through pin 4 of the ECM. When the relay coil is grounded, the contact switch closes and supplies operating 12VDC to pin 47 of the ECM.