Curiosii for ever!: Car repair manuals for everyone.

Frame: Testing and Inspection

CHECKING FOR FRAME CRACKING OR FLAKING






Check by using a test hammer for flaking or cracking of the welded surface of the sidemembers crossmembers and brackets.

REPAIRING CRACKS

If the check reveals a crack(s) in the frame repair as described bellow.






1. Remove the components near the crack.
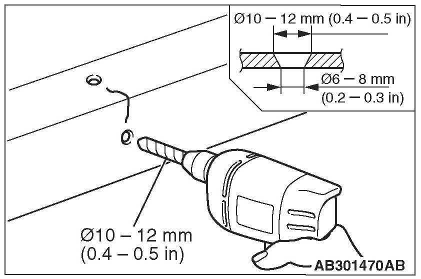
2. Make dia 6-8 mm (0.2-0.3 inch) holes (to prevent further cracking) by using a drill at points 7-8 mm (0.3 inch) from the crack ends.






3. Use a dia 10-12 mm (0.4-0.5 inch) drill to bevel the hole openings.






4. Use a chisel or gouging tool to open up the crack and holes and then fill the crack and holes by MIG welding.






CAUTION:
- Gas welding should be avoided because it causes thermal distortion of the frame.
- When using a grinder for finishing, be careful not to grind the frame excessively.


5. Using a grinder for finishing after welding.

CAUTION:
- The reinforcement plate should completely cover the cracked part.
- The reinforcement plate should be the same thickness and material as the frame.







6. To avoid a concentration of stress prepare a reinforcement plate that has been cut to 30 - 45 degree angle at both ends.






CAUTION: Be sure that the edges of the reinforcement plate are not near any place where a concentration of stress of the crossmember or spring hanger installation part, etc. could easily occur.

7. Attach the reinforcement plate to the repaired crack area by MIG welding. In order to avoid a concentration of stress at the time weld the reinforcement plate at points about 10 mm (0.4 inch) from its edges.






NOTE: If the crack is at the upper side of the frame, attach the reinforcement plate facing downward, as shown in (1). If the crack is at the lower side, attach the reinforcement plate to face upward, as shown in (2).

8. Finally apply a coating of chassis black to the repaired area and to any places where the coating has flaked off.