Curiosii for ever!: Car repair manuals for everyone.

Ignition System: Description and Operation




GENERAL INFORMATION

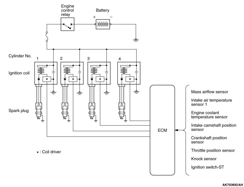
This system is equipped with four ignition coils with built-in power transistors for each of the cylinders.
Interruption of the primary current flowing in the primary side of an ignition coil generates a high voltage in the secondary side of ignition coil. The high voltage thus generated is applied to the spark plugs to generate sparks. The engine control module (ECM) turns the power transistors inside the ignition coils alternately on and off.This causes the primary currents in the ignition coils to be alternately interrupted and allowed to flow to fire the cylinders in the order 1-3-4-2.
The ECM determines which ignition coil should be controlled by means of the signals from the camshaft position sensor and the crank angle sensor. It also detects the crankshaft position, in order to provide ignition at the most appropriate timing in response to the engine operation conditions.
When the engine is cold or running at high altitudes, the ignition timing is slightly advanced to provide optimum performance. Furthermore, if knocking occurs, the ignition timing is gradually retarded until knocking ceases.

SYSTEM DIAGRAM

[Non-turbo]





[Turbo]