Curiosii for ever!
: Car repair manuals for everyone.
Home
>>
Mitsubishi
>>
2012
>>
Lancer Evolution L4-2.0L Turbo (4B11T/C)
>>
Repair and Diagnosis
>>
Heating and Air Conditioning
>>
Blower Motor
>>
Testing and Inspection
Blower Motor: Testing and Inspection
INSPECTION
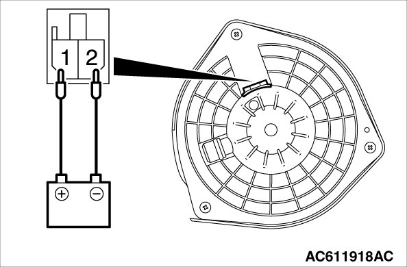
BLOWER MOTOR
CHECK
Check that the motor turns when applying battery power between the connector terminals.
Also check to see that there is no abnormal sound emitted from the motor at this time.