Curiosii for ever!: Car repair manuals for everyone.

Lateral Accelerometer: Service and Repair




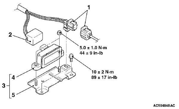
REMOVAL AND INSTALLATION

CAUTION:

- Do not use an impact wrench.
- Do not drop or shock the G and yaw rate sensor.
-
When the G and yaw rate sensor is replaced, always carry out calibration to make ASC-ECU learn the neutral point (Refer to G and Yaw Rate Sensor Calibration ).