Curiosii for ever!: Car repair manuals for everyone.

Inspection Procedure D-4




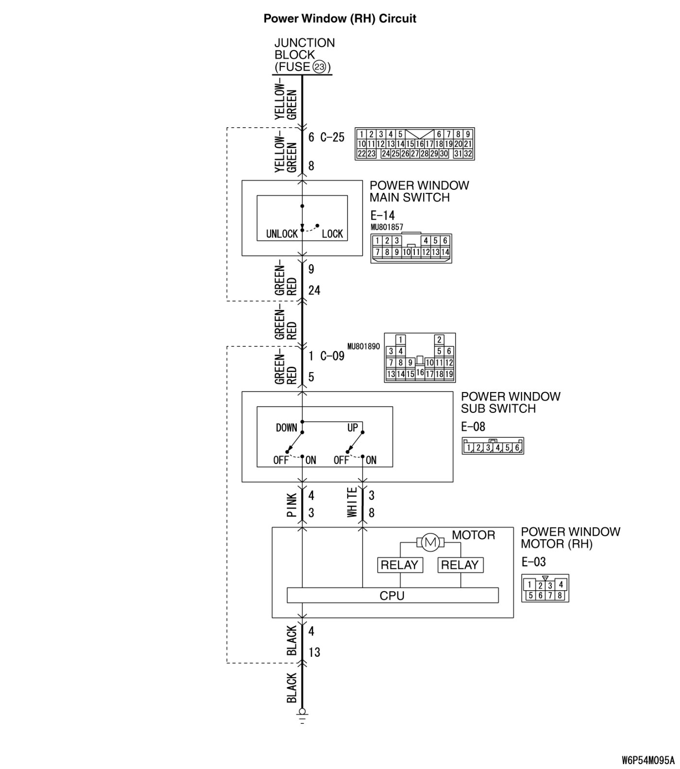
INSPECTION PROCEDURE D-4: Power Window: Power window (RH) does not work normally by operating the power window sub switch.


























CIRCUIT OPERATION

power window motor (RH) raise and lower the door windows when the passenger's sub switch is moved to "UP" or "DOWN" position.

TECHNICAL DESCRIPTION (COMMENT)

A power window sub switch or power window motor (RH) may be defective. Or, the power window lock switch (incorporated in the power window main switch) may remain pressed in the "LOCK" position.

TROUBLESHOOTING HINTS

- The power window main switch may be defective
- The power window sub switch may be defective
- The power window motor (RH) may be defective
- The wiring harness or connectors may have loose, corroded, or damaged terminals, or terminals pushed back in the connector

DIAGNOSIS

Required Special Tools:

- MB991223: Harness Set
- MB992006: Extra Fine Probe

STEP 1. Check the power window lock switch.

Q. Is the power window lock switch in the "UNLOCK" position?

YES Go to Step 2.
NO Operate the power window lock switch to the "UNLOCK" position. When the power window sub switch is operated, the power window (RH) should raise and lower normally.
STEP 2. Check power window main switch connector E-14 for loose, corroded or damaged terminals, or terminals pushed back in the connector.





Q. Is power window main switch connector E-14 in good condition?

YES Go to Step 3.

NO Repair or replace the damaged component(s). Harness Connector Inspection. When the power window sub switch is operated, the power window (RH) should raise and lower normally.

STEP 3. Check the power window lock switch for continuity.

(1)Remove the power window main switch. Service and Repair.





(2)Check continuity when the power window lock switch is operated to "LOCK" or "UNLOCK" position.





Q. Is the power window lock switch normal?

YES Go to Step 4.

NO Replace the power window main switch. When the power window sub switch is operated, the power window (RH) should raise and lower normally.

STEP 4. Check power window sub switch connector E-08 for loose, corroded or damaged terminals, or terminals pushed back in the connector.





Q. Is power window sub switch connector E-08 in good condition?

YES Go to Step 5.

NO Repair or replace the damaged component(s). Harness Connector Inspection. When the power window sub switch is operated, the power window (RH) should raise and lower normally.

STEP 5. Check the front power window sub switch for continuity.

(1)Remove the front power window sub switch. Service and Repair.





(2)Check continuity when the front power window sub switch is operated to "UP" or "DOWN" position.





Q. Is the front power window sub switch normal?

YES Go to Step 6.

NO Replace the power window sub switch. When the power window sub switch is operated, the power window (RH) should raise and lower normally.

STEP 6. Check the battery power supply circuit to the power window sub switch. Measure the voltage at power window sub switch connector E-08.





(1)Disconnect power window sub switch connector E-08 and measure the voltage available at the wiring harness side of the connector.
(2)Turn the ignition switch to "ON" position.





(3)Measure the voltage between terminal 5 and ground.

- The voltage should measure approximately 12 volts (battery positive voltage).

Q. Is the measured voltage approximately 12 volts (battery positive voltage)?

YES Go to Step 8.

NO Go to Step 7.

STEP 7. Check the wiring harness between power window sub switch E-08 (terminal 5) and junction block (fuse 23).

- Check the power supply line for open circuit and short circuit.

















NOTE:
Also check intermediate connectors C-09 and C-25 for loose, corroded or damaged terminals, or terminals pushed back in the connectors. If intermediate connector C-09 or C-25 is damaged, repair or replace the damaged component(s) as described in Harness Connector Inspection Harness Connector Inspection.

Q. Is the wiring harness between power window sub switch E-08 (terminal 5) and junction block (fuse 23) in good condition?

YES No action is necessary and testing is complete.

NO The wiring harness may be damaged or the connector(s) may have loose, corroded or damaged terminals, or terminals pushed back in the connector. Repair the wiring harness as necessary. When the power window sub switch is operated, the power window (RH) should raise and lower normally.

STEP 8. Check power window motor (RH) connector E-03 for loose, corroded or damaged terminals, or terminals pushed back in the connector.





Q. Is power window motor (RH) connector E-03 in good condition?

YES Go to Step 9.

NO Repair or replace the damaged component(s). Harness Connector Inspection. When the power window sub switch is operated, the power window (RH) should raise and lower normally.

STEP 9. Check the ground circuit to the power window motor (RH). Measure the resistance at power window motor (RH) connector E-03.





(1)Disconnect power window motor (RH) connector E-03 and measure the resistance available at the harness side of the connector.





(2)Measure the resistance value between terminal 4 and ground.

- The resistance should be 2 ohms or less.

Q. Is the measured resistance 2 ohms or less?

YES Go to Step 11.

NO Go to Step 10.

STEP 10. Check the wiring harness between power window motor (RH) connector E-03 (terminal 4) and ground.

- Check the ground wire for open circuit.









NOTE:
Also check intermediate connector C-09 for loose, corroded or damaged terminals, or terminals pushed back in the connectors. If intermediate connector C-09 is damaged, repair or replace the damaged component(s) as described in Harness Connector Inspection Harness Connector Inspection.

Q. Is the wiring harness between power window motor (RH) connector E-03 (terminal 4) and ground in good condition?

YES No action is necessary and testing is complete.

NO The wiring harness may be damaged or the connector(s) may have loose, corroded or damaged terminals, or terminals pushed back in the connector. Repair the wiring harness as necessary. When the power window sub switch is operated, the power window (RH) should raise and lower normally.

STEP 11. Check the wiring harness between power window sub switch connector E-08 (terminals 3 and 4) and power window motor (RH) connector E-03 (terminals 8 and 3).

- Check the communication lines for open circuit and short circuit.





Q. Is the wiring harness between power window sub switch connector E-08 (terminals 3 and 4) and power window motor (RH) connector E-03 (terminals 8 and 3) in good condition?

YES Replace the power window motor (RH). When the power window sub switch is operated, the power window (RH) should raise and lower normally.

NO The wiring harness may be damaged or the connector(s) may have loose, corroded or damaged terminals, or terminals pushed back in the connector. Repair the wiring harness as necessary. When the power window sub switch is operated, the power window (RH) should raise and lower normally.