Curiosii for ever!: Car repair manuals for everyone.

Inspection Procedure E-2




INSPECTION PROCEDURE E-2: Keyless Entry System: The dome light, the turn-signal lights and the horn do not operate through the answerback function.






















CIRCUIT OPERATION

The ETACS-ECU operates the following functions when it receives lock or unlock signal from the transmitter:

- Dome light answerback function
- Turn-signal light answerback function
- Horn answerback function

TECHNICAL DESCRIPTION (COMMENT)

The turn-signal lights and horn answerback functions can be disabled or enabled. However, the dome light answerback function cannot be disabled.

TROUBLESHOOTING HINTS

- The turn-signal light may be defective
- The dome light may be defective
- The horn may be defective
- The ETACS-ECU may be defective
- The wiring harness or connectors may have loose, corroded, or damaged terminals, or terminals pushed back in the connector

DIAGNOSIS

Required Special Tools:

- MB991223: Harness Set
- MB992006: Extra Fine Probe
- MB991958: Scan Tool (M.U.T.-III Sub Assembly)
- MB991824: V.C.I.
- MB991827: M.U.T.-III USB Cable
- MB991910: M.U.T.-III Main Harness A

STEP 1. Verify the keyless entry system.

Q. Does the keyless entry system work normally?

YES Go to Step 2.
NO Refer to Inspection Procedure E-1 "Keyless entry system does not operate Inspection Procedure E-1."
STEP 2. Check the configuration function.

Q. Has the answerback function been enabled by means of the adjustment function?

YES Go to Step 3.
NO Enable the answerback function by means of the adjustment function. Verify that the answerback functions work normally.
STEP 3. Verify trouble symptom.

Q. Which answerback function is defective?

Only the dome light : Go to Step 4.
Only the turn-signal lights : Go to Step 5.
Only the horn : Go to Step 6.
Dome light, turn-signal lights and horn : Replace the ETACS-ECU. When the ETACS-ECU is replaced, register the encrypted code. Encrypted Code Registration Criteria Table. Verify that the answerback functions work normally.
STEP 4. Verify the dome light.

Q. Does the dome light illuminate normally?

YES Replace the ETACS-ECU. When the ETACS-ECU is replaced, register the encrypted code. Encrypted Code Registration Criteria Table. Verify that the answerback functions work normally.
NO Refer to Inspection Procedure L-1 "The dome lights do not illuminate and go out normally Inspection Procedure L-1."
STEP 5. Verify the hazard warning light.

Q. Does the hazard warning light work normally?

YES Replace the ETACS-ECU. When the ETACS-ECU is replaced, register the encrypted code. Encrypted Code Registration Criteria Table. Verify that the answerback functions work normally.
NO Refer to Inspection Procedure J-2 "Hazard warning lights do not flash when the hazard warning light switch is turned on Inspection Procedure J-2."
STEP 6. Verify which horn is defective.

Q. Which horn is (are) defective?

Horn (HIGH) : Go to Step 7.
Horn (LOW) : Go to Step 11.
Both horns : Go to Step 15.
STEP 7. Check horn (HIGH) connector A-25 for loose, corroded or damaged terminals, or terminals pushed back in the connector.





Q. Is horn (HIGH) connector A-25 in good condition?

YES Go to Step 8.

NO Repair or replace the damaged component(s). Harness Connector Inspection. Verify that the horn sounds normally.

STEP 8. Check the horn (HIGH).





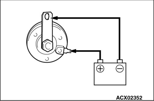
Connect the battery as shown, and verify that the horn sounds.

Q. Is the horn normal?

YES Go to Step 9.

NO Replace the horn (HIGH). Verify that the horn sounds normally.

STEP 9. Check horn relay connector A-08X for loose, corroded or damaged terminals, or terminals pushed back in the connector.





Q. Is horn relay connector A-08X in good condition?

YES Go to Step 10.

NO Repair or replace the damaged component(s). Harness Connector Inspection. Verify that the horn sounds normally.

STEP 10. Check the wiring harness between horn relay connector A-08X (terminal 4) and horn (HIGH) connector A-25 (terminal 1).

- Check the communication lines for open circuit and short circuit.









Q. Is the wiring harness between horn relay connector A-08X (terminal 4) and horn (HIGH) connector A-25 (terminal 1) in good condition?

YES Replace the ETACS-ECU. When the ETACS-ECU is replaced, register the encrypted code. Encrypted Code Registration Criteria Table. Verify that the horn sounds normally.

NO The wiring harness may be damaged or the connector(s) may have loose, corroded or damaged terminals, or terminals pushed back in the connector. Repair the wiring harness as necessary. Verify that the horn sounds normally.

STEP 11. Check horn (LOW) connector A-23 for loose, corroded or damaged terminals, or terminals pushed back in the connector.





Q. Is horn (LOW) connector A-23 in good condition?

YES Go to Step 12.

NO Repair or replace the damaged component(s). Harness Connector Inspection. Verify that the horn sounds normally.

STEP 12. Check the horn (LOW).





Connect the battery as shown, and verify that the horn sounds.

Q. Is the horn normal?

YES Go to Step 13.

NO Replace the horn (LOW). Verify that the horn sounds normally.

STEP 13. Check horn relay connector A-08X for loose, corroded or damaged terminals, or terminals pushed back in the connector.





Q. Is horn relay connector A-08X in good condition?

YES Go to Step 14.

NO Repair or replace the damaged component(s). Harness Connector Inspection. Verify that the horn sounds normally.

STEP 14. Check the wiring harness between horn relay connector A-08X (terminal 4) and horn (LOW) connector A-23 (terminal 1).

- Check the communication lines for open circuit and short circuit.









Q. Is the wiring harness between horn relay connector A-08X (terminal 4) and horn (LOW) connector A-23 (terminal 1) in good condition?

YES Replace the ETACS-ECU. When the ETACS-ECU is replaced, register the encrypted code. Encrypted Code Registration Criteria Table. Verify that the horn sounds normally.

NO The wiring harness may be damaged or the connector(s) may have loose, corroded or damaged terminals, or terminals pushed back in the connector. Repair the wiring harness as necessary. Verify that the horn sounds normally.

STEP 15. Check horn relay connector A-08X for loose, corroded or damaged terminals, or terminals pushed back in the connector.





Q. Is horn relay connector A-08X in good condition?

YES Go to Step 16.

NO Repair or replace the damaged component(s). Harness Connector Inspection. Verify that the horn sounds normally.

STEP 16. Check the horn relay.









Q. Is the horn relay normal?

YES Go to Step 17.

NO Replace the horn relay. Verify that the horn sounds normally.

STEP 17. Check the battery power supply circuit to the horn relay. Measure the voltage at horn relay connector A-08X.





(1)Disconnect horn relay and measure the voltage available at the relay box side of the connector.





(2)Measure the voltage between terminal 1 and ground, and also between terminal 2 and ground.

- The voltage should measure approximately 12 volts (battery positive voltage).

Q. Is the measured voltage approximately 12 volts (battery positive voltage)?

YES Go to Step 19.

NO Go to Step 18.

STEP 18. Check the wiring harness between horn relay connector A-08X (terminals 1 and 2) and the battery.

- Check the power supply line for open circuit and short circuit.





Q. Is the wiring harness between horn relay connector A-08X (terminals 1 and 2) and the battery in good condition?

YES No action is necessary and testing is complete.

NO The wiring harness may be damaged or the connector(s) may have loose, corroded or damaged terminals, or terminals pushed back in the connector. Repair the wiring harness as necessary. Verify that the horn sounds normally.

STEP 19. Check ETACS-ECU connector C-219 for loose, corroded or damaged terminals, or terminals pushed back in the connector.





Q. Is ETACS-ECU connector C-219 in good condition?

YES Go to Step 20.

NO Repair or replace the damaged component(s). Harness Connector Inspection. Verify that the horn sounds normally.

STEP 20. Check the wiring harness between horn relay connector A-08X (terminal 3) and ETACS-ECU connector C-219 (terminal 44).

- Check the communication lines for open circuit and short circuit.













NOTE:
Also check intermediate connector C-24 for loose, corroded, or damaged terminals, or terminals pushed back in the connector. If intermediate connector C-24 is damaged, repair or replace the damaged component(s) as described in Harness Connector Inspection Harness Connector Inspection.

Q. Is the wiring harness between horn relay connector A-08X (terminal 3) and ETACS-ECU connector C-219 (terminal 44) in good condition?

YES Replace the ETACS-ECU. When the ETACS-ECU is replaced, register the encrypted code. Encrypted Code Registration Criteria Table. Verify that the horn sounds normally.

NO The wiring harness may be damaged or the connector(s) may have loose, corroded or damaged terminals, or terminals pushed back in the connector. Repair the wiring harness as necessary. Verify that the horn sounds normally.