Curiosii for ever!: Car repair manuals for everyone.

Coolant Temperature Sensor/Switch (For Computer): Testing and Inspection




ENGINE COOLANT TEMPERATURE SENSOR CHECK

Required Special Tool:

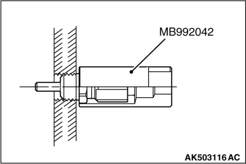
- MB992042: Engine coolant temperature sensor wrench

CAUTION:
Be careful not to touch the connector (resin section) with the tool when removing and installing.





1. Drain engine coolant, then remove the engine coolant temperature sensor using the special tool MB992042 (engine coolant temperature sensor wrench).





2. With the temperature sensing portion of engine coolant temperature sensor immersed in hot water, check the resistance.
Standard value:

14 - 17 kohms [at -20°C (-4°F)]
5.1 - 6.5 kohms [at 0°C (32°F)]
2.1 - 2.7 kohms [at 20°C (68°F)]
0.9 - 1.3 kohms [at 40°C (104°F)
0.48 - 0.68 kohms [at 60°C (140°F)]
0.26 - 0.36 kohms [at 80°C (176°F)]
3. If the resistance deviates from the standard value greatly, replace the sensor.





4. Apply LOCTITE 262, Three bond 1324N or equivalent to threaded portion.
5. With the special tool MB992042 (engine coolant temperature sensor wrench) tighten the engine coolant temperature sensor to the specified torque.
Tightening torque: 30± 9Nm (22± 6 ft-lb)