Curiosii for ever!: Car repair manuals for everyone.

Oxygen Sensor: Service and Repair




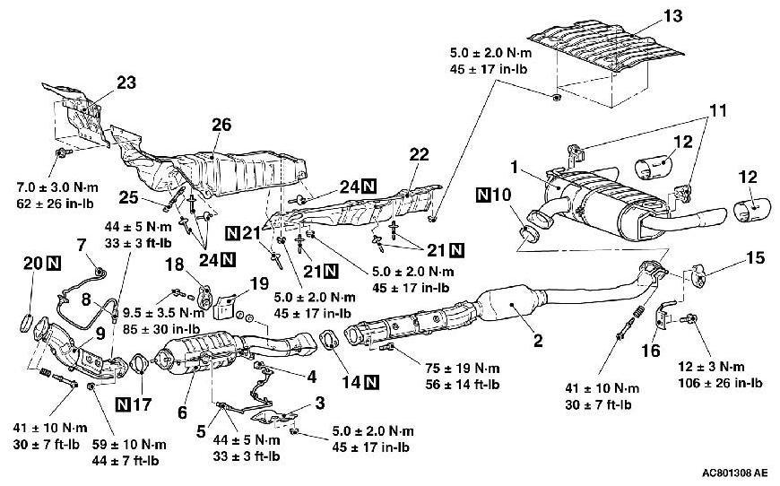
REMOVAL AND INSTALLATION













Required Special Tool:

- MB991953: Oxygen Sensor Wrench

REMOVAL SERVICE POINTS

[[A]] HEATED OXYGEN SENSOR REMOVAL





Use special tool MB991953 to remove the heated oxygen sensor.

[[B]] RIVET REMOVAL

CAUTION:
Be careful not to score the heat protector by drill.





Use a 6.0 / diameter / mm drill to make a hole in the rivet to break it, and then remove the rivet.

INSTALLATION SERVICE POINTS

]]A[[ RIVET INSTALLATION





Use a rivet tool shown in the illustration to connect the parts with rivets by the following procedures.
1. Insert the rivet into a corresponding location.
2. Set the rivet tool at a portion A of rivet.
3. While pushing the flange surface of the rivet onto parts to be fixed with the rivet tool, press the handle of the tool.
4. Thin part of portion A of the rivet will be cut off and the parts is fixed in position.

]]B[[ HEATED OXYGEN SENSOR INSTALLATION





Tighten the heated oxygen sensor to the specified torque by using special tool MB991953.
Tightening torque: 44± 5Nm (33± 3 ft-lb)


]]C[[ EXHAUST TAIL PIPE DIFFUSER INSTALLATION

When the part is reused, make sure that there is no excessive play after installation and that the part is securely fixed.