Curiosii for ever!: Car repair manuals for everyone.

CAN Bus Line Diagnostics Flow




EXPLANATION ABOUT THE SCAN TOOL (M.U.T.-III) CAN BUS DIAGNOSTICS

Scan tool MB991958 CAN bus diagnostics carries out the three checks below automatically, and then displays the current condition of the CAN bus lines according to the check results.





1. Scan tool CAN bus diagnostics
Scan tool MB991958 diagnoses CAN bus lines in accordance with the following strategy.
(1) Measuring voltage in CAN bus line
Diagnoses the power supply (such as wires of higher voltage than CAN communication line) and grounding (such as wires of lower voltage than CAN communication line) of CAN bus lines for short circuit by measuring the voltages between the CAN_L line or H line and body ground.





(2) Measuring resistance in CAN bus line
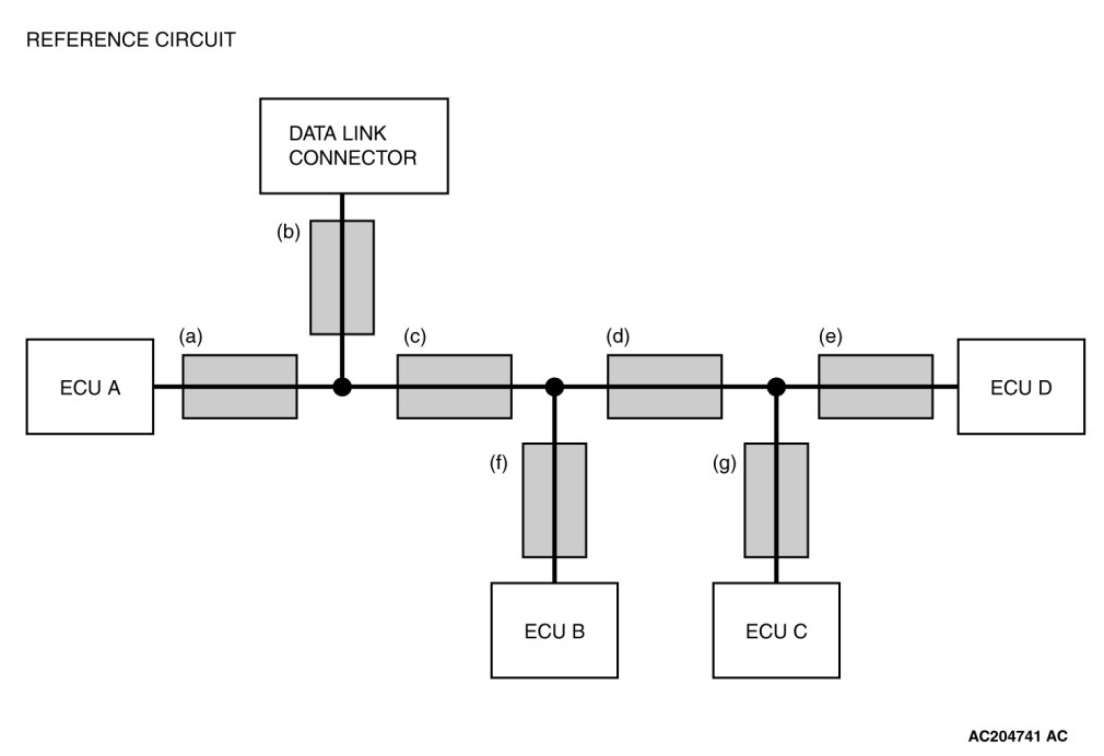
Checks the terminator resistors (incorporated in the combination meter or the powertrain control module), which are connected to each end of a CAN bus line, for breakage and a CAN bus main line for open circuit by measuring the resistance value between a CAN_L line and H line.





(3) Checking the communication condition of ECUs
Scan tool MB991958 narrows down troubles in circuit by itself. Its strategy is as follows:










2. If DTC code related to CAN communication is set as past trouble, isolate opens as described below.
NOTE:
If you pinpoint trouble spot according to DTC code, you should use time-out DTC code. DTC code related to failure information is set when the data to be set contains an error, so CAN bus line itself is probably normal.

NOTE:
Time-out DTC codes are stored in each ECU memory individually. Therefore, it is possible that these DTC codes have not been set simultaneously. If the trouble spot cannot be found when you diagnose by judging from multiple DTC codes, check the communication lines between each ECU.