Curiosii for ever!: Car repair manuals for everyone.

Brake Bleeding: Service and Repair




BLEEDING

CAUTION:
Use only brake fluid DOT 3 or DOT 4. Never mix the specified brake fluid with other fluid as it will influence the braking performance significantly.

MASTER CYLINDER BLEEDING

The master cylinder used has no check valve, so if bleeding is carried out by the following procedure, bleeding of air from the brake pipeline will become easier. (When brake fluid is not contained in the master cylinder).

1. Fill the reserve tank with brake fluid.

2. Keep the brake pedal depressed.





3. Have another person cover the master cylinder outlet with a finger.
4. With the outlet still closed, release the brake pedal.
5. Repeat steps 2 - 4 three or four times to fill the inside of the master cylinder with brake fluid.

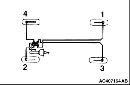
BRAKE LINE BLEEDING





Start the engine and bleed the air in the sequence shown in the figure.