Curiosii for ever!: Car repair manuals for everyone.

Variable Valve Timing Actuator: Service and Repair




REMOVAL AND INSTALLATION









- MD998713: Camshaft Oil Seal Installer

INSTALLATION SERVICE POINTS

]]A[[
OIL FEEDER CONTROL VALVE HOUSING / OIL FEEDER CONTROL VALVE HOUSING GASKET / OIL SEAL CASE / OIL SEAL CASE GASKET


CAUTION:

- Oil passage shall be free from foreign matters.

- Shall confirm fully that matching plane and such are free from foreign matters.





1. Install the oil feeder control valve housing gasket and oil seal case gasket so that the protuberant is positioned as shown in the illustration.
2. Tighten the oil feeder control valve housing and oil seal case.
Tightening torque: 24± 3Nm (17± 2 ft-lb)


]]B[[
OIL SEAL INSTALLATION






1. Apply engine oil to the lip area of the oil seal and the front end outside diameter of camshaft.
2. Using special tool MD998713, install the camshaft oil seal.

]]C[[
ENGINE OIL PRESSURE SWITCH INSTALLATION






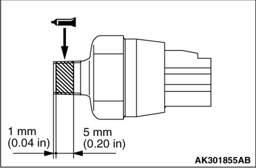
Apply sealant (Three bond 1212D, Three bond 1215 or equivalent) to the threads of engine oil pressure switch.

]]D[[
ENGINE OIL CONTROL VALVE INSTALLATION






1.
CAUTION:

- Never re-use the O-ring.
- Before installing O-ring, wind sealing tape around the oil passages cut-out area of engine oil control valve, to prevent damage. If the O-ring is damaged, it can cause an oil leak.

Apply a small amount of engine oil to the O-ring and then install it to the engine oil control valve.
2. Install the engine oil control valve to the cylinder head.
3. Tighten the engine oil control valve.
Tightening torque: 11± 1Nm (98± 8 in-lb)


]]E[[
OIL PIPE / EYE BOLT INSTALLATION


CAUTION:
Oil pipe shall be installed by following instruction so that pipe does not become deformed.

1.




Install the oil pipe and eye bolt gasket lightly with eye bolt by hand.

2. Tighten eye bolt.
Tightening torque: 30± 3Nm (22± 1 ft-lb)


3. Tighten the flange bolt.
Tightening torque 11± 1Nm (98± 8 in-lb)