Curiosii for ever!: Car repair manuals for everyone.

Part 2

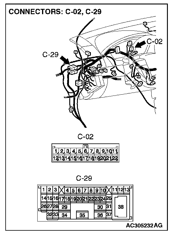
STEP 19. Check the CAN bus lines between joint connector (3) and the TPMS reciver. Measure the resistance between joint connector (3) C-02 and TPMS reciver connector C-133.

CAUTION:
- A digital multimeter should be used.
- The test wiring harness should be used.











1. Disconnect joint connector (3) C-02 and TPMS reciver connector C-133, and measure the resistances at the wiring harness sides of joint connector (3) C-02 and TPMS reciver connector C-133.
2. Turn the ignition switch to the "LOCK" (OFF) position.

CAUTION: Disconnect the negative battery terminal.

3. Disconnect the negative battery terminal.







4. Measure the resistance between joint connector (3) terminal 10 and TPMS reciver connector terminal 1.

OK: 2 ohms or less







5. Measure the resistance between joint connector (3) terminal 21 and TPMS reciver connector terminal 2.

OK: 2 ohms or less

CAUTION: Strictly observe the specified wiring harness repair procedure.

Q: Do all the resistances measure 2 ohms or less?

YES : If all the resistances measure 2 ohms or less, power supply to the TPMS reciver may be suspected. Diagnose the tire pressure monitoring system. Refer to TPMS diagnosis, equipment diagnosis. Inspection Procedure 5: Communication Between the Scan Tool and the TPMS Is Not Possible.

NO : If either of the resistances measures more than 2 ohms or all the resistances measure more than 2 ohms, repair the wiring harness between joint connector (3) and the TPMS reciver connector.

STEP 20. Check steering wheel sensor connector C-314 for loose, corroded or damaged terminals, or terminals pushed back in the connector.







CAUTION: The strand end of the twisted wire should be within 10 cm (4 inches) from the connector.

Q: Is steering wheel sensor connector C-314 in good condition?

YES : Go to Step 21.

NO : Repair the damaged parts.

STEP 21. Using scan tool MB991958, diagnose the CAN bus line (Disconnect steering wheel sensor connector C-314, and check the supplemental restraint system).







1. Disconnect steering wheel sensor connector C-314.
2. Turn the ignition switch to the "ON" position.







3. Diagnose CAN bus lines, and check if the M.U.T.-III screen is as shown in the illustration.
4. Turn the ignition switch to the "LOCK" (OFF) position.
5. Connect the steering wheel sensor connector C-314.

Q: Does the M.U.T.-III screen correspond to the illustration?

YES : If the M.U.T.-III screen corresponds to the illustration, go to Step 22.

NO : If the M.U.T.-III screen does not correspond to the illustration, go to Step 23.

STEP 22. Check the CAN bus lines between joint connector (3) and the steering wheel sensor. Measure the resistance between joint connector (3) C-02 and steering wheel sensor connector C-314.

CAUTION:
- A digital multimeter should be used.
- The test wiring harness should be used.











1. Disconnect joint connector (3) C-02 and steering wheel sensor connector C-314, and measure the resistances at the wiring harness sides of joint connector (3) C-02 and steering wheel sensor connector C-314.
2. Turn the ignition switch to the "LOCK" (OFF) position.

CAUTION: Disconnect the negative battery terminal.

3. Disconnect the negative battery terminal.







4. Measure the resistance between joint connector (3) terminal 2 and steering wheel sensor connector terminal 3.

OK: 2 ohms or less







5. Measure the resistance between joint connector (3) terminal 13 and steering wheel sensor connector terminal 4.

OK: 2 ohms or less

CAUTION: Strictly observe the specified wiring harness repair procedure.

Q: Do all the resistances measure 2 ohms or less?

YES : If all the resistances measure 2 ohms or less, power supply to the steering wheel sensor may be suspected. Diagnose the ASC system. Refer to ASC diagnosis, equipment diagnosis. Inspection Procedure 3: TCL/ASC-ECU Power Supply Circuit System

NO : If either of the resistances measures more than 2 ohms or all the resistances measure more than 2 ohms, repair the wiring harness between joint connector (3) and the steering wheel sensor connector.

STEP 23. Check the multi-center display unit connector C-31 [Mitsubishi Multi Communication System] for loose, corroded or damaged terminals, or terminals pushed back in the connector.







CAUTION: The strand end of the twisted wire should be within 10 cm (4 inches) from the connector.

Q: Is multi-center display unit connector C-31 [Mitsubishi Multi Communication System] in good condition?

YES : Go to STEP 24.

NO : Repair the damaged parts.

STEP 24. Using scan tool MB991958, diagnose the CAN bus line (Disconnect multi-center display unit connector C-31 [Mitsubishi Multi Communication System], and check the multi-center display unit (Mitsubishi Multi Communication System).







1. Disconnect multi-center display unit connector C-31 [Mitsubishi Multi Communication System].
2. Turn the ignition switch to the "ON" position.







3. Diagnose CAN bus lines, and check if the M.U.T.-III screen is as shown in the illustration.
4. Turn the ignition switch to the "LOCK" (OFF) position.
5. Connect the multi-center display unit connector C-31 [Mitsubishi Multi Communication System].

Q: Does the M.U.T.-III screen correspond to the illustration?

YES : If the M.U.T.-III screen corresponds to the illustration, go to STEP 25.

NO : If the M.U.T.-III screen does not correspond to the illustration, go to STEP 26.

STEP 25. Check the CAN bus lines between joint connector (3) and the multi-center display unit (Mitsubishi Multi Communication System). Measure the resistance between joint connector (3) C-02 and multi-center display unit connector C-31 [Mitsubishi Multi Communication System].

CAUTION:
- A digital multimeter should be used.
- The test wiring harness should be used.











1. Disconnect joint connector (3) C-02 and multi-center display unit (Mitsubishi multi communication system) connector C-31 [Mitsubishi Multi Communication System], and measure the resistance at the wiring harness sides of joint connector (3) C-02 and multi-center display unit connector C-31 [Mitsubishi Multi Communication System].
2. Turn the ignition switch to the "LOCK" (OFF) position.

CAUTION: Disconnect the negative battery terminal.

3. Disconnect the negative battery terminal.







4. Measure the resistance between joint connector (3) terminal 8 and multi-center display unit connector terminal 5 [Mitsubishi Multi Communication System].

OK: 2 ohms or less







5. Measure the resistance between joint connector (3) terminal 19 and multi-center display unit [multi-center display unit (Mitsubishi multi communication system)] connector terminal 15.

OK: 2 ohms or less

CAUTION: Strictly observe the specified wiring harness repair procedure.

Q: Do all the resistances measure 2 ohms or less?

YES : If all the resistances measure 2 ohms or less, power supply to the multi-center display (Mitsubishi Multi Communication System) may be suspected. Diagnose the multi-center display (Mitsubishi Multi Communication System). Refer to Multi-center display, equipment diagnosis Inspection Procedure 1 [Mitsubishi Multi Communication System].

NO : If either of the resistances measures more than 2 ohms or all the resistances measure more than 2 ohms, repair the wiring harness between joint connector (3) and the multi-center display unit (Mitsubishi Multi Communication System) connector.

STEP 26. Check the CAN bus lines between joint connector (3) and the data link connector. Measure the resistance between joint connector (3) C-02 and data link connector C-125.

CAUTION:
- A digital multimeter should be used.
- The test wiring harness should be used.








1. Disconnect joint connector (3) C-02, and measure the resistance between the wiring harness side connector of joint connector (3) C-02 and wiring harness side connector of data link connector C-125.
2. Turn the ignition switch to the "LOCK" (OFF) position.

CAUTION: Disconnect the negative battery terminal.

3. Disconnect the negative battery terminal.







4. Measure the resistance between joint connector (3) terminal 18 and data link connector terminal 14.

OK: 2 ohms or less







5. Measure the resistance between joint connector (3) terminal 7 and data link connector terminal 6.

OK: 2 ohms or less

CAUTION: Strictly observe the specified wiring harness repair procedure.

Q: Do all the resistances measure 2 ohms or less?

YES : If all the resistances measure 2 ohms or less, refer to diagnostics item 6: Check the CAN_L and H lines for a short circuit [Vehicles with multi-center display (Mitsubishi Multi Communication System)]. Inspection Procedure 6

NO : If all the resistances measure 2 ohms or less, repair the wiring harness between joint connector (3) and the data link connector.

STEP 27. Check TCL/ASC-ECU connector A-42 and powertrain control module connector B-19 for loose, corroded or damaged terminals, or terminals pushed back in the connector.










CAUTION: The strand end of the twisted wire should be within 10 cm (4 inches) from the connector.

Q: Are TCL/ASC-ECU connector A-42 and powertrain control module connector B-19 in good condition?

YES : Go to STEP 28.

NO : Repair the damaged parts.

STEP 28. Using scan tool MB991958, diagnose the CAN bus line (Disconnect powertrain control module connector B-19, and check the powertrain control module system).







1. Disconnect powertrain control module connector B-19.
2. Turn the ignition switch to the "ON" position.







3. Diagnose CAN bus lines, and check if the M.U.T.-III screen is as shown in the illustration.
4. Turn the ignition switch to the "LOCK" (OFF) position.
5. Connect powertrain control module connector B-19.

Q: Does the M.U.T.-III screen correspond to the illustration?

YES : If the M.U.T.-III screen corresponds to the illustration, go to STEP 29.

NO : If the M.U.T.-III screen does not correspond to the illustration, go to STEP 31.

STEP 29. Check the CAN bus lines between the TCL/ASC-ECU and the powertrain control module. Measure the resistance between TCL/ASC-ECU connector A-42 and powertrain control module connector B-19.

CAUTION:
- A digital multimeter should be used.
- The test wiring harness should be used.











1. Disconnect TCL/ASC-ECU connector A-42 and powertrain control module connector B-19, and measure the resistance between each wiring harness side connector.
2. Turn the ignition switch to the "LOCK" (OFF) position.

CAUTION: Disconnect the negative battery terminal.

3. Disconnect the negative battery terminal.







4. Measure the resistance between TCL/ASC-ECU connector terminal 15 and powertrain control module connector terminal 18.

OK: 2 ohms or less







5. Measure the resistance between TCL/ASC-ECU connector terminal 11 and powertrain control module connector terminal 17.

OK: 2 ohms or less

CAUTION: Strictly observe the specified wiring harness repair procedure.

Q: Do all the resistances measure 2 ohms or less?

YES : If all the resistances measure 2 ohms or less, go to STEP 30.

NO : If either of the resistances measures more than 2 ohms or all the resistances measure more than 2 ohms, repair the wiring harness between TCL/ASC-ECU connector and the powertrain control module connector.

STEP 30. Check the CAN bus lines inside the TCL/ASC-ECU. Measure the resistance at TCL/ASC-ECU connector A-42.

CAUTION:
- A digital multimeter should be used.
- The test wiring harness should be used.








1. Disconnect TCL/ASC-ECU connector A-42, and measure the resistance at the component side of TCL/ASC-ECU connector A-42.
2. Turn the ignition switch to the "LOCK" (OFF) position.

CAUTION: Disconnect the negative battery terminal.

3. Disconnect the negative battery terminal.







4. Measure the resistance between TCL/ASC-ECU connector terminals 13 and 15.

OK: 2 ohms or less







5. Measure the resistance between TCL/ASC-ECU connector terminals 27 and 11.

OK: 2 ohms or less

CAUTION: Strictly observe the specified wiring harness repair procedure.

Q: Do all the resistances measure 2 ohms or less?

YES : If all the resistances measure 2 ohms or less, power supply to the powertrain control module may be suspected. Diagnose the engine. Refer to MFI diagnosis Inspection Procedure 1 [2.4L engine] or MFI diagnosis Inspection Procedure 1 [3.8L engine].

NO : If either of the resistances measures more than 2 ohms or all the resistances measure more than 2 ohms, replace the TCL/ASC-ECU.

STEP 31. Using scan tool MB991958, diagnose the CAN bus line (Disconnect TCL/ASC-ECU connector A-42, and check the TCL/ASC-ECU).







1. Disconnect TCL/ASC-ECU connector A-42.
2. Turn the ignition switch to the "ON" position.







3. Diagnose CAN bus lines, and check if the M.U.T.-III screen is as shown in the illustration.
4. Turn the ignition switch to the "LOCK" (OFF) position.
5. Check TCL/ASC-ECU connector A-42.

Q: Does the M.U.T.-III screen correspond to the illustration?

YES : If the M.U.T.-III screen corresponds to the illustration, go to STEP 32.

NO : If the M.U.T.-III screen does not correspond to the illustration, refer to diagnostics item 6: Check the CAN_L and H lines for a short circuit [Vehicles with multi-center display (Mitsubishi Multi Communication System)]. Diagnostic Item 6

STEP 32. Check the CAN bus lines between intermediate connector C-29 and the TCL/ASC-ECU. Measure the resistance between intermediate connector C-29 and TCL/ASC-ECU connector A-42.

CAUTION:
- A digital multimeter should be used.
- The test wiring harness should be used.











1. Disconnect intermediate connector C-29 and TCL/ASC-ECU connector A-42, and measure the resistance between the wiring harness side connector of TCL/ASC-ECU connector A-42 and the male side connector of intermediate connector C-29 (at front wiring harness side).
2. Turn the ignition switch to the "LOCK" (OFF) position.

CAUTION: Disconnect the negative battery terminal.

3. Disconnect the negative battery terminal.







4. Measure the resistance between intermediate connector terminal 11 and TCL/ASC-ECU connector terminal 27.

OK: 2 ohms or less







5. Measure the resistance between intermediate connector terminal 12 and TCL/ASC-ECU connector terminal 13.

OK: 2 ohms or less

CAUTION: Strictly observe the specified wiring harness repair procedure.

Q: Do all the resistances measure 2 ohms or less?

YES : If all the resistances measure 2 ohms or less, go to STEP 33.

NO : If either of the resistances measures more than 2 ohms or all the resistances measure more than 2 ohms, repair the wiring harness between intermediate connector C-29 and the TCL/ASC-ECU connector.

STEP 33. Check the CAN bus lines between intermediate connector C-29 and the joint connector (3). Measure the resistance between intermediate connector C-29 and joint connector (3) C-02.

CAUTION:
- A digital multimeter should be used.
- The test wiring harness should be used.








1. Disconnect joint connector (3) C-02 and intermediate connector C-29, and measure the resistance between the wiring harness side connector of joint connector (3) C-02 and the female side connector of intermediate connector C-29 (instrument panel wiring harness side).
2. Turn the ignition switch to the "LOCK" (OFF) position.

CAUTION: Disconnect the negative battery terminal.

3. Disconnect the negative battery terminal.







4. Measure the resistance between intermediate connector terminal 11 and joint connector (3) terminal 9.

OK: 2 ohms or less







5. Measure the resistance between intermediate connector terminal 12 and joint connector (3) terminal 20.

OK: 2 ohms or less

CAUTION: Strictly observe the specified wiring harness repair procedure.

Q: Do all the resistances measure 2 ohms or less?

YES : If all the resistances measure 2 ohms or less, power supply to the TCL/ASC-ECU may be suspected. Diagnose the ASC system. Refer to ASC diagnosis. Inspection Procedure 3: TCL/ASC-ECU Power Supply Circuit System

NO : If either of the resistances measures more than 2 ohms or all the resistances measure more than 2 ohms, repair the wiring harness between joint connector (3) and intermediate connector C-29.