Curiosii for ever!: Car repair manuals for everyone.

Repair and Diagnosis: Application and ID

VEHICLE IDENTIFICATION

VEHICLE IDENTIFICATION NUMBER PLATE





The vehicle identification number (VIN) plate is located on a plate attached to the left top side of the instrument panel.

CODE CHART








MODELS

VEHICLE IDENTIFICATION NUMBER LIST

VEHICLES FOR USA





VEHICLES FOR CANADA





CHASSIS NUMBER
The chassis number is stamped on the front floor pan.





CODE CHART





ENGINE MODEL STAMPING





The engine model is stamped on the cylinder block.
The engine model number is as shown as follow.





The engine serial number is stamped near the engine model number.





VEHICLE IDENTIFICATION CODE PLATE





The information code plate is riveted onto the cowl top outer panel in the engine compartment.

CODE CHART





TIRE AND LOADING INFORMATION PLACARD





The tire and loading information placard is located on the inside sill of the driver's door.

VEHICLE SAFETY CERTIFICATION LABEL





The vehicle safety certification label is attached to the face of the left door sill.
This label indicates the month and year of manufacture, Gross Vehicle Weight Rating (GVWR), front and rear Gross Axle Weight Rating (GAWR), and Vehicle Identification Number (VIN).

NATIONAL SAFETY MARK [CANADA]





The tire and loading information placard is located on the inside sill of the driver's door.

THEFT PROTECTION LABEL

CAUTION
When replacing a part that has the theft protection plate, label or stamp on it, be sure that the part has either A or B shown in the figure. It is illegal if both A and B are attached, or neither A nor B is attached.






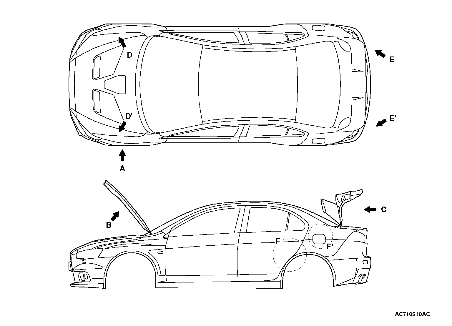
In order to protect against theft, a Vehicle Identification Number (VIN) is attached as a plate or label to the following major parts of the engine, transaxle and main outer panels: Engine cylinder block, Transaxle housing, Front fender, Hood, Trunk lid, Bumpers, Side outer panel, Doors. In addition, a theft-protection label is attached to replacement parts for main outer panels. The same data is stamped into replacement parts for the engine and the transaxle.

CAUTION
Cautions regarding panel repairs:
^ When repainting original parts, do so after first masking the theft-protection label. After painting, be sure to peel off the masking tape.
^ The theft-protection label for replacement parts is covered by masking tape, so such parts can be painted as is. The masking tape should be removed after painting is finished.
^ The theft-protection label should not be removed from original parts or replacement parts.


LOCATIONS