Front Suspension
FRONT WHEEL ALIGNMENT CHECK AND ADJUSTMENTMeasure wheel alignment with alignment equipment on a level surface. The front suspension, steering system and tires should be serviced to normal condition before measuring wheel alignment.
TOE-IN
Standard value: 0 ± 3 mm (0 ± 0.12 inch)
1. Adjust the toe-in by undoing the clip and jam nut, and turning the left and right tie rod turnbuckles by the same amount (in opposite directions).
NOTE: The toe will move out as the left turnbuckle is turned toward the front of the vehicle and the right turnbuckle is turned toward the rear of the vehicle.
2. Install the clip and tighten the jam nut to the specified torque.
Tightening torque: 52 ± 2 Nm (38 ± 2 ft. lbs.)
3. Confirm that the toe-in is at the standard value.
4. Use a turning radius gauge to check that the steering angle is at the standard value.
STEERING ANGLE
Standard value:
31° 48' ± 2°00' [Inner wheel]
27° 06' [Outer wheel (reference)]
CAMBER, CASTER AND KINGPIN INCLINATION
Required Special Tool
^ MB991004: Wheel Alignment Gauge Attachment
Standard value:
Camber: 0°00' ± 30' (Left/right deviation within 30')
Caster: 3°00' ± 30' (Left/right deviation within 30')
Kingpin inclination: 12°54' ± 1°30'
NOTE: Caster are preset at the factory and cannot be adjusted.
CAUTION: Never subject the wheel bearings to the vehicle load when the drive shaft nuts are loosened.
NOTE: Attach the camber/caster/kingpin gauge to the driveshaft by using special tool MB991004. Tighten special tool MB991004 to the same torque 226 ± 29 Nm (167 ± 21 ft. lbs.) as the drive shaft nut.
If the camber is outside of the standard value, perform the following adjustment procedures.
1. Estimate how much additional camber adjustment is required. Using the table, select the camber adjusting bolt, and then replace the knuckle and strut assembly connection bolts (upper bolt, lower bolt) with the selected bolts.
NOTE:
^ Indicates upper bolt and lower bolt combination in each selection of CAMBER ADJUSTING VALUE.
Bolts are identified in the table:
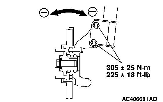
2. Tighten the nuts temporarily, and then pull or push the front axle to adjust the camber.
NOTE: Pulling the upper side of the front axle to the outside of the vehicle will increase the camber Pushing it to the inside of the vehicle will decrease the camber
3. Tighten the nuts to 305 ± 25 Nm (225 ± 18 ft. lbs.).
4. Recheck the camber.