Curiosii for ever!: Car repair manuals for everyone.

Part 2

OUTPUT SHAFT

DISASSEMBLY AND ASSEMBLY(continued)

Disassembly Steps 1-36:




Required Special Tools:





ASSEMBLY SERVICE POINTS
>>A<< ROLLER BEARING INNER RACE INSTALLATION





1. Using special tool MD998801, support the output shaft gear, and then set them on the press.
2. Using special tools MD998812 and MD998818, install the roller bearing inner race with the press.

>>B<< SNAP RING INSTALLATION





1. Install the thickest snap ring that can be fitted in the groove of output shaft.
2. Make sure that the roller bearing inner race end play meets the standard value.
Standard value: 0 - 0.12 mm (0 - 0.0047 inch)

>>C<<1ST SPEED GEAR SLEEVE INSTALLATION





1. Set the output shaft on the press support stand.
2. Using special tools MD998812, MD998814 and MD998825, install the 1st speed gear sleeve with the press.

>>D<< SYNCHRONIZER SPRING INSTALLATION





Install the synchronizer spring onto the outer synchronizer ring as shown.

>>E<< 1ST-2ND SPEED SYNCHRONIZER HUB INSTALLATION








1. Set the output shaft on the press support stand.
2. Check that the 1st-2nd speed synchronizer hub is in the correct installation direction, and put it on the output shaft.
3. Using special tools MD998812, MD998814 and MD998825, install the 1st-2nd speed synchronizer hub with the press.
4. Make sure that the outer synchronizer ring on the 1st speed gear side can rotate freely.

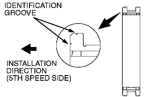
>>F<< SYNCHRONIZER SLEEVE INSTALLATION





1. Check that the synchronizer sleeve is in the correct direction for installation, and install it on the 1st-2nd speed synchronizer hub.





2. Install the synchronizer sleeve so that the areas with teeth that have raised tips (three areas total) are aligned with the areas on the synchronizer hub that have deep grooves between the teeth (three areas total).

>>G<< 2ND SPEED GEAR SLEEVE INSTALLATION





1. Set the output shaft on the press support stand.
2. Using special tools MD998812, MD998814 and MD998822, install the 2nd speed sleeve onto the output shaft with the press.

>>H<< 3RD SPEED GEAR INSTALLATION





1. Check that the 2nd speed gear and the outer synchronizer ring have been properly installed. Also, make sure the claws on the synchronizer cone (four places) are correctly fitted into the holes in the 2nd speed gear (four places).
2. Using special tools MD998812, MD998814 and MD998822, install the 3rd speed gear onto the output shaft with the press.
3. Make sure that the 2nd speed gear and the outer synchronizer ring can rotate freely.

>>I<< SNAP RING INSTALLATION





1. Install the thickest snap ring that can be fitted in the groove of output shaft.
2. Make sure that the 3rd speed gear end play meets the standard value.
Standard value: 0 - 0.09 mm (0 - 0.0035 inch)

>>J<< 4TH SPEED GEAR INSTALLATION





1. Set the output shaft on the press support stand.
2. Using special tools MD998812, MD998813 and MD998819, install the 4th speed gear onto the output shaft with the press.

>>K<< 5TH SPEED GEAR SLEEVE INSTALLATION





Using special tools MD998812, MD998813 and MD998819, install the 5th speed gear sleeve onto the output shaft with the press.

>>L<< SYNCHRONIZER SPRING INSTALLATION





Install the synchronizer spring onto the synchronizer ring as shown.

>>M<< SYNCHRONIZER RING INSTALLATION





CAUTION: There is a 5th speed synchronizer ring and a reverse synchronizer ring. Be careful not to confuse the two when installing, as a mistake will affect the shift feeling.

1. Check for the presence of identification notches on the synchronizer ring.
No notches: 5th speed synchronizer ring
Three notches: Reverse synchronizer ring
2. Install the synchronizer ring so that it fits completely over the machined cone of the gear.

>>N<< 5TH SPEED-REVERSE SYNCHRONIZER HUB INSTALLATION





1. Set the output shaft on the press support stand.
2. Make sure that the synchronizer ring is fitted correctly on the cone of the 5th speed gear.
3. Check that the 5th speed-reverse synchronizer hub is oriented correctly for installation, and install it on the output shaft.





4. Using special tools MD98812, MD998813 and MD998819, press install the 5th speed-reverse synchronizer hub with the press.
5. Make sure that the synchronizer ring on the 5th speed gear side can rotate freely.

>>O<< SYNCHRONIZER SLEEVE INSTALLATION





1. Check that the synchronizer sleeve is in the correct direction for installation, and install it on the 5th speed-Reverse synchronizer hub.





2. Install the synchronizer sleeve so that the areas with teeth that have raised tips (three areas total) are aligned with the areas on the synchronizer hub that have deep grooves between the teeth (three areas total).

>>P<< REVERSE GEAR SLEEVE INSTALLATION





1. Make sure the synchronizer ring, reverse gear and needle roller bearing have been correctly installed.
2. Using special tools MD998812 and MD998818, press fit the reverse gear sleeve. Make sure that the reverse gear and the synchronizer ring can rotate freely during the pressing process.

>>Q<< BALL BEARING INSTALLATION





1. Check the installation direction of the ball bearing.
2. Using special tools MD998812 and MD998818, install the ball bearing with the press.

>>R<< SNAP RING INSTALLATION





1. Install the thickest snap ring that can be fitted in the groove of output shaft.
2. Make sure that the ball bearing end play meets the standard value.
Standard value: 0 - 0.09 mm (0 - 0.0035 inch)