Curiosii for ever!: Car repair manuals for everyone.

Inspection Instruments

INSPECTION INSTRUMENTS
For inspection, use the following instruments:

CAUTION: Never use a test light for checking ECU-related circuits or ECUs.




1. Test light
A test light consists of a 12V bulb and lead wires. It is used to check voltages or short circuits.




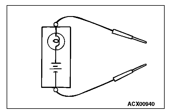
2. Self-powered test light
A self-powered test light consists of a bulb, battery and lead wires connected in series. It is used to check continuity or grounding.

CAUTION: Never use a jumper wire to connect a power supply directly to a load.




3. Jumper wire
A jumper wire is used to close an open circuit.




4. Voltmeter
A voltmeter is used to measure the circuit voltage. Normally, the positive (red lead) probe is applied to the point of voltage measurement and the negative (black lead) probe to the body ground. Use a digital voltmeter to check for voltage drop before or after a component.




5. Ohmmeter
An ohmmeter is used to check continuity or measure resistance of a switch or coil. If the measuring range has been changed, the zero point must be adjusted before measurement.