Curiosii for ever!: Car repair manuals for everyone.

Front Door Window Regulator: Service and Repair

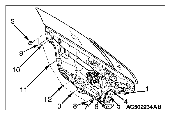
DOOR GLASS AND REGULATOR

Pre-removal & Post-installation Operation:




Removal Steps 1-8:




REMOVAL AND INSTALLATION

REMOVAL SERVICE POINT

[[A]] DOOR WINDOW GLASS MOUNTING BOLT REMOVAL

CAUTION: When loosening the door window glass mounting bolts, use a magnetic wrench to prevent bolts from dropping into the door window module assembly cavity.

INSTALLATION SERVICE POINTS

]]A[[ DOOR WINDOW GLASS MOUNTING BOLT INSTALLATION

CAUTION: When tightening the door window glass mounting bolts, use a magnetic wrench to prevent bolts from dropping into the door window module assembly cavity.

]]B[[ DOOR WINDOW MODULE ASSEMBLY INSTALLATION




Install the door window module assembly in the order shown.

NOTE: Check the installation position of the door window glass and the delta window glass.