Curiosii for ever!: Car repair manuals for everyone.

Input Shaft









DISASSEMBLY AND ASSEMBLY
DISASSEMBLY SERVICE POINTS
<> INPUT SHAFT REAR BEARING REMOVAL





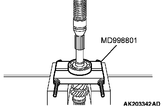
Using special tool MD998801, support the input shaft rear bearing and remove the bearing.

<> 6TH GEAR SLEEVE / NEEDLE BEARING / 6TH GEAR REMOVAL





Using special tool MD998917, support the 6th gear and remove the 6th gear sleeve, needle bearing, and 6th gear.

<> 5TH-6TH SYNCHRONIZER ASSEMBLY / SYNCHRONIZER RING / 5TH GEAR REMOVAL





Using special tool MD998917, support the 5th gear and remove the 5th-6th synchronizer assembly, synchronizer ring, and 5th gear.

<> 5TH GEAR SLEEVE / THRUST WASHER / 4TH GEAR / NEEDLE BEARING / 4TH GEAR SLEEVE / 3RD-4TH SYNCHRONIZER ASSEMBLY / SYNCHRONIZER OUTER RING / SYNCHRONIZER CONE / SYNCHRONIZER INNER RING / 3RD GEAR REMOVAL





Using special tool MD998917, support the 3rd gear and remove the 5th gear sleeve, thrust washer, 4th gear, needle bearing, 4th gear sleeve, 3rd-4th synchronizer assembly, synchronizer outer ring, synchronizer cone, synchronizer inner ring, and 3rd gear.

<> BALL BEARING REMOVAL





Using special tool MD998801, support the ball bearing and remove the bearing.

ASSEMBLY SERVICE POINTS
>>A<< BALL BEARING INSTALLATION





Using special tools MD998812, MD998813 and MD998818, install the ball bearing.

>>B<< 3RD-4TH SYNCHRONIZER HUB / SYNCHRONIZER KEY / SYNCHRONIZER SLEEVE

CAUTION: The synchronizer hub is not reusable.





1. Assemble the 3rd-4th synchronizer hub and synchronizer sleeve together as shown in the illustration.

CAUTION: Install the synchronizer springs on the synchronizer keys so that the center steps on both springs are not positioned on the same key.





2. Install the synchronizer keys and synchronizer springs as shown in the illustration.

>>C<< 3RD-4TH SYNCHRONIZER ASSEMBLY INSTALLATION

CAUTION: When press fitting the synchronizer assembly onto the main shaft, make sure that the synchronizer rings do not get caught in the hub.





Using special tools MD998801, MD998812, MD998813 and MD998823, install the 3rd-4th synchronizer assembly.

>>D<< 4TH GEAR SLEEVE INSTALLATION





Using special tools MD998801, MD998812, MD998813 and MD998822, install the 4th gear sleeve.

>>E<< THRUST WASHER INSTALLATION

CAUTION: Do not use more than one thrust washer.





1. Select a washer that allows distance A in the illustration to fall within the standard value range.
Standard value: 167.6 - 167.7 mm (6.5984 - 6.6024 inch)

Selecting appropriate washer
a. Use a dial gauge to measure the distance between the 4th bearing sleeve and the front bearing (distance B in the illustration).
b. Select a washer that allows distance A to fall within the standard value range when the thickness of the washer is added to the distance B measurement.





2. Using special tools MD998801, MD998812, MD998813 and MD998822, install the thrust washer.

>>F<< 5TH GEAR SLEEVE INSTALLATION





Using special tools MD998801, MD998812, MD998813 and MD998822, install the 5th gear sleeve.

>>G<< 5TH-6TH SYNCHRONIZER HUB / SYNCHRONIZER KEYS / SYNCHRONIZER

CAUTION: The synchronizer hub is not reusable.





1. Assemble the 5th-6th synchronizer hub and synchronizer sleeve together as shown in the illustration.





2. Install the synchronizer keys and synchronizer springs as shown in the illustration.

>>H<< 5TH-6TH SYNCHRONIZER ASSEMBLY INSTALLATION

CAUTION: When press fitting the synchronizer assembly onto the main shaft, make sure that the synchronizer rings do not get caught in the hub.





Using special tools MD998801, MD998812, MD998813 and MD998822, install the 5th-6th synchronizer assembly.

>I<< 6TH GEAR SLEEVE INSTALLATION





Using special tools MD998801, MD998812 and MD998818, install the 6th gear sleeve.

>>J<< SNAP RING INSTALLATION





Select a snap ring that allows the clearance between the snap ring and snap ring groove to fall within the standard value range.
Standard value: 0 - 0.1 mm (0 - 0.0039 inch)

>>K<< INPUT SHAFT REAR BEARING INSTALLATION





CAUTION: Install the input shaft rear bearing with its snap ring groove facing the side shown in the illustration.





Using special tools MD998801, MD998812 and MD998818, press fit the input shaft rear bearing onto the input shaft.

INPUT SHAFT





Check the input shaft for damage, flaking, dents, uneven wear, bend, and other defects.

SPEED GEARS





1. Check the helical gear teeth and clutch gear teeth of each speed gear for damage and excessive wear.
2. Check the synchronizer cone surface of each speed gear for roughness, damage, and excessive wear (3rd gear excepted).
3. Check the inside surface and front and back sides of each speed gear for damage and excessive wear.

NEEDLE ROLLER BEARINGS
1. Combine each needle roller bearing with the input shaft, corresponding sleeve, and gear. Rotate the assembly, checking for smooth rotation, looseness, and noise.
2. Check the retainer for deformation.

SINGLE CONE SYNCHRONIZER RING





1. Check the clutch gear on the synchronizer ring for damaged and missing teeth.
2. Check the synchronizer ring inner cone surface for damage or wear. Also check that the inside ridges are intact.
3. Check the synchronizer key contact surfaces of the synchronizer ring for damage, and excessive wear.





4. Press the synchronizer ring against the cone of the adjacent speed gear, and check clearance A. Replace the synchronizer ring if the clearance is below the limit.
Limit: 0.7 mm (0.0276 inch)

DOUBLE CONE SYNCHRONIZER RING





1. Check the clutch gear on the outer synchronizer ring for damaged and missing teeth.
2. Check the contact surfaces between each synchronizer ring and synchronizer cone for damage and wear. Also check that the cone ridges are intact.
3. Check the synchronizer key contact surfaces of the outer synchronizer ring for damage and excessive wear.





4. Combine the synchronizer rings and synchronizer cone, and check clearances A and B shown in the illustration. Replace them if either of the clearances is greater than the limit.
Limit: 0.2 mm (0.0079 inch)

SYNCHRONIZER KEYS





Check the synchronizer hub contact surfaces of each synchronizer key for damage and excessive wear.

SYNCHRONIZER SPRINGS
Check the synchronizer springs for loss of tension, deformation, and breakage.