Curiosii for ever!: Car repair manuals for everyone.

Inspection Procedure 26

Generator output voltage is low (approximately 12.3 volts)

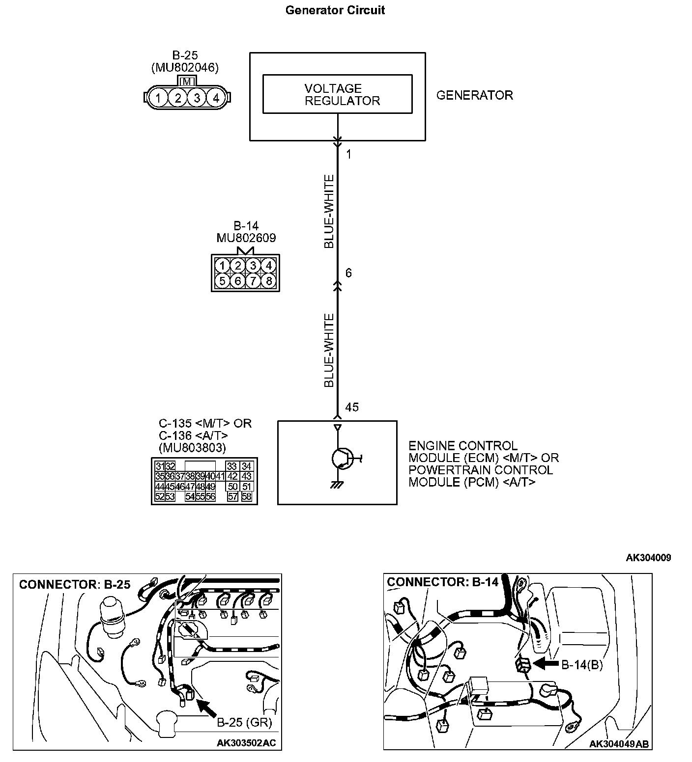
Generator Circuit Part 1:




Generator Circuit Part 2:






CIRCUIT OPERATION
- The ECM or PCM controls generator out put current by duty-controlling continuity between the generator G terminal (terminal No. 1) and ground.

TROUBLESHOOTING HINTS (The most likely causes for this charging system:)
- Malfunction of the charging system.
- Short circuit in harness between generator G terminal and ECM or PCM
.
- ECM failed.
- PCM failed.


DIAGNOSIS

STEP 1. Measure the voltage at generator intermediate connector B-14 by backprobing.




1. Do not disconnect the connector B-14.
2. Start the engine and run at idle.




3. Measure the voltage between terminal No. 6 and ground by backprobing.
a. Engine: warming up
b. Radiator fan: stopped
c. Headlight switch: OFF to ON
d. Rear defogger switch: OFF to ON
e. Stoplight switch: OFF to ON
- Voltage rises by 0.2 - 3.5 volts.

4. Turn the
ignition switch to the "LOCK" (OFF) position.

Q: Is the measured voltage within the specified range?

YES: Go to Step 2.

NO: Replace the generator. Then confirm that the malfunction symptom is eliminated.




STEP 2. Check connector B-14 at generator intermediate connector for damage.

Q: Is the connector in good condition?

YES: Go to Step 3.

NO: Repair or replace it. Refer to Harness Connector Inspection. Then confirm that the malfunction symptom is eliminated.




STEP 3. Check connector B-25 at generator connector for damage.

Q: Is the connector in good condition?

YES: Go to Step 4.

NO: Repair or replace it. Refer to Harness Connector Inspection. Then confirm that the malfunction symptom is eliminated.




STEP 4. Check connector C-135 at ECM or C-136 at PCM for damage.

Q: Is the connector in good condition?

YES: Go to Step 5.

NO: Repair or replace it. Refer to Harness Connector Inspection. Then confirm that the malfunction symptom is eliminated.







STEP 5. Check for open circuit and short circuit to ground and harness damage between generator connector B-25 (terminal No. 1) and ECM connector C-135 or PCM connector C-136
(terminal No. 45).

NOTE: Check harness after checking intermediate connector B-14. If intermediate connector is damaged, repair or replace it. Refer to Harness Connector Inspection. Then check that, the malfunction is eliminated.

Q: Is the harness wire in good condition?

YES: Replace the ECM or PCM. Then confirm that the malfunction symptom is eliminated.

NO: Repair it. Then confirm that the malfunction symptom is eliminated.