Curiosii for ever!: Car repair manuals for everyone.

Inspection Procedure 30

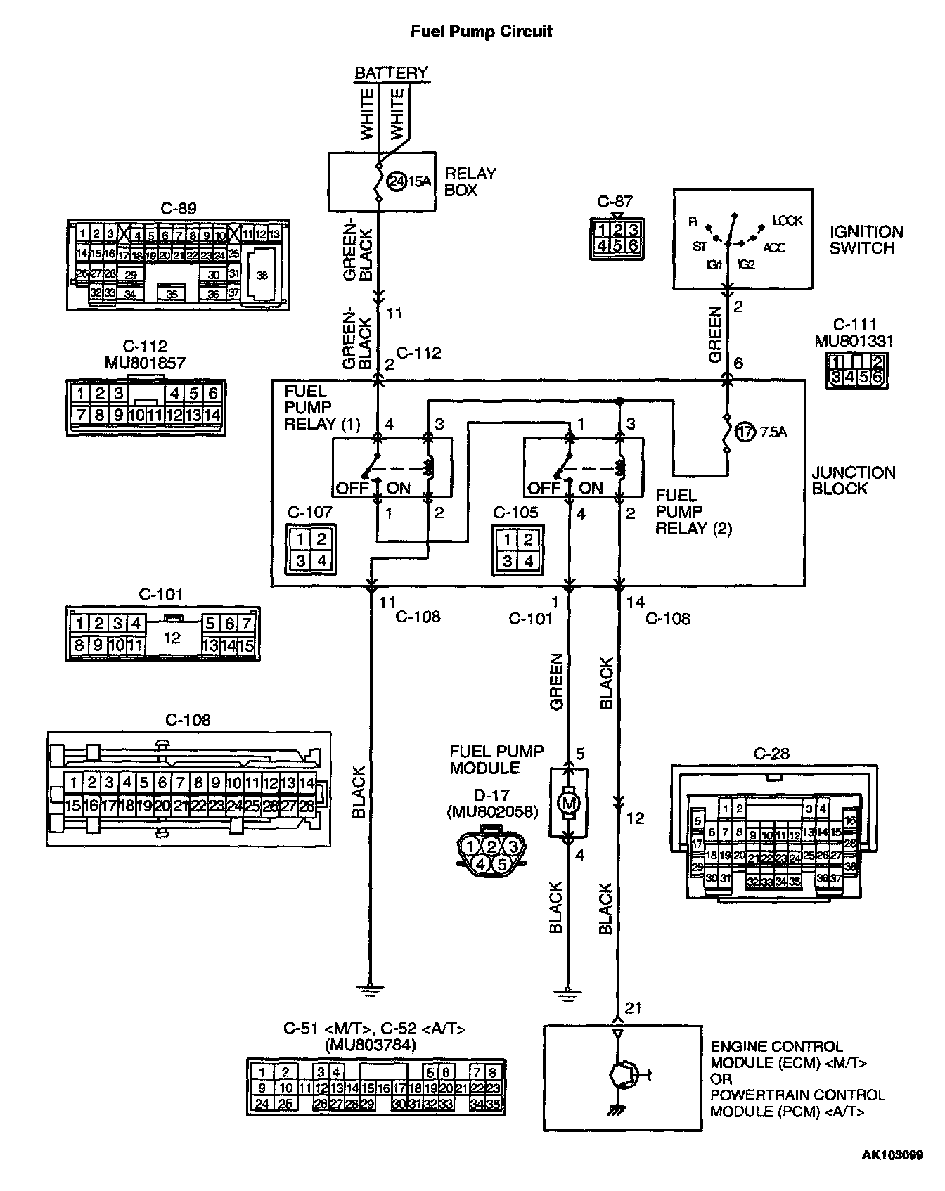
Fuel pump system.

Fuel Pump Circuit Part 1:




Fuel Pump Circuit Part 2:




Fuel Pump Circuit Part 3:






CIRCUIT OPERATION
- Battery positive voltage is applied to the fuel pump relay 1 (terminal 3) from the ignition switch-IG.
Ground is provided through terminal 2 to chassis ground.
- When the ignition switch is turned to the "ON" position, the battery positive voltage is applied to the fuel pump relay 2 (terminal 1) from the fuel pump relay 1 (terminal 1).
- A battery positive voltage is applied on the fuel pump relay 2 (terminal 3) from the ignition switch-IG.
- During cranking and while the engine is running, the ECM or PCM turns the power transistor in the ECM or PCM ON to ground the fuel pump relay 2 coil. With this, the fuel pump relay turns ON, and the battery positive voltage is supplied to the fuel pump from the fuel pump relay 2 (terminal 4).

TROUBLESHOOTING HINTS (The most likely causes for this code to be set are:)
- Malfunction of the fuel pump relay 1 and 2.
- Malfunction of the fuel pump.
- Improper connector contact, open or short-circuited harness wire.
- Malfunction of the ECM or PCM .

DIAGNOSIS

Required Special Tool:
- MB991502: Scan Tool (MUT-II)

STEP 1. Using scan tool MB991502, check
actuator test item 07: Fuel Pump.






CAUTION: To prevent damage to scan tool MB991502, always turn the ignition switch to the "LOCK" (OFF) position before connecting or disconnecting scan tool MB991502.

1. Connect scan tool MB991502 to the data link connector.
2. Turn the ignition switch to the "ON" position.
3. Set scan tool MB991502 to the actuator test mode for item 07, Fuel Pump.
- An operation sound of the fuel pump should be heard.

4. Turn the ignition switch to the "LOCK" (OFF) position.

Q: Is the fuel pump operating properly?

YES: That this malfunction is intermittent. Refer to How to Use Troubleshooting/Inspection Service Points.

NO: Go to Step 2.




STEP 2. Check connector C-107 at fuel pump relay 1 and connector C-105 at fuel pump relay 2 for damage.

Q: Is the connector in good condition?

YES: Go to Step 3.

NO: Repair or replace it. Refer to Harness Connector Inspection. Then confirm that the malfunction symptom is eliminated.

STEP 3. Check the fuel pump relay 1 and 2.




1. Remove the fuel pump relay 1 and 2.




2. Check for continuity between the each fuel pump relay terminals 2 and 3.
- There should be continuity, (approximately 70 Ohm)




3. Use jumper wires to connect each fuel pump relay terminal 3 to the positive battery terminal and terminal 2 to the negative battery terminal.
4. Check the continuity between the each fuel pump relay terminals 1 and 4 while connecting and disconnecting the jumper wire at the negative battery terminal.
- Should be less than 2 Ohm. (Negative battery terminal connected)
- Should be open loop. (Negative battery terminal disconnected)

5. Install the fuel pump relay 1 and 2.

Q: Is the resistance normal?

YES: Go to Step 4.

NO: Replace the fuel pump relay 1 and/or 2. Then confirm that the malfunction symptom is eliminated.

STEP 4. Check the power supply voltage at fuel pump relay 1 harness side connector C-107.




1. Disconnect the connector C-107 and measure at the harness side.




2. Measure the voltage between terminal 4 and ground.
- Voltage should be battery positive voltage.

Q: Is the voltage normal?

YES: Go to Step 5.

NO: Check harness connectors C-89 and C-112 at intermediate connector for damage, and repair or replace as required. Refer to Harness Connector Inspection. If intermediate connectors are in good condition, repair harness wire between dedicated fuse and fuel pump relay 1 connector C-107 terminal 4 because of open circuit. Then confirm that the malfunction symptom is eliminated.

STEP 5. Check the power supply voltage at fuel pump relay 1 harness side connector C-107.




1. Disconnect the connector C-107 and measure at the harness side.
2. Turn the ignition switch to the "ON" position.




3. Measure the voltage between terminal 3 and ground.
- Voltage should be battery positive voltage.

4. Turn the ignition switch to the "LOCK" (OFF) position.

Q: Is the voltage normal?

YES: Go to Step 6.

NO: Check harness connector C-111 at intermediate connector for damage, and repair or replace as required. Refer to Harness Connector Inspection. If intermediate connector is in good condition, repair harness wire between ignition switch connector C-87 terminal 2 and fuel pump relay 1 connector C-107 terminal 3 because of open circuit. Then confirm that the malfunction symptom is eliminated.

STEP 6. Check the continuity at fuel pump relay 1 harness side connector C-107.




1. Disconnect the connector C-107 and measure at the harness side.




2. Check for the continuity between terminal 2 and ground.
- Should be less than 2 Ohm.

Q: Is the continuity normal?

YES: Go to Step 7.

NO: Check harness connectors C-108 at intermediate connector for damage, and repair or replace as required. Refer to Harness Connector Inspection. If intermediate connectors are in good condition, repair harness wire between fuel pump relay 1 connector C-107 terminal 2 and ground because of open circuit. Then confirm that the malfunction symptom is eliminated.

STEP 7. Check the power supply voltage at fuel pump relay 2 harness side connector C-105.




1. Disconnect the connector C-105 and measure at the harness side.
2. Turn the ignition switch to the "ON" position.




3. Measure the voltage between terminal 1 and ground.
- Voltage should be battery positive voltage.

Q: Is the voltage normal?

YES: Go to Step 8.

NO: Repair harness wire between fuel pump relay 1 connector C-107 terminal 1 and fuel pump relay 2 connector C-105 terminal 1 because of open circuit. Then confirm that the malfunction symptom is eliminated.

STEP 8. Check the power supply voltage at fuel pump relay 2 harness side connector C-105.




1. Disconnect the connector C-105 and measure at the harness side.
2. Turn the ignition switch to the "ON" position.




3. Measure the voltage between terminal 3 and ground.
- Voltage should be battery positive voltage.

4. Turn the ignition switch to the "LOCK" (OFF) position.

Q: Is the voltage normal?

YES: Go to Step 9.

NO: Check harness connector C-111 at intermediate connector for damage, and repair or replace as required. Refer to Harness Connector Inspection. If intermediate connector is in good condition, repair harness wire between ignition switch connector C-87 terminal 2 and fuel pump relay 2 connector C-105 terminal 3 because of open circuit. Then confirm that the malfunction symptom is eliminated.




STEP 9. Check connector D-17 at fuel pump for damage.

Q: Is the connector in good condition?

YES: Go to Step 10.

NO: Repair or replace it. Refer to Harness Connector Inspection. Then confirm that the malfunction symptom is eliminated.

STEP 10. Check the fuel pump operation.

1. Disconnect fuel pump connector D-17.




2. Use jumper wires to connect fuel pump connector terminal 5 to the positive battery terminal and terminal 4 to the negative battery terminal.
- An operating sound of the fuel pump should be heard.

Q: Is the fuel pump operating properly?

YES: Go to Step 11.

NO: Replace the fuel pump. Then confirm that the malfunction symptom is eliminated.

STEP 11. Check the continuity at fuel pump harness side connector D-17.

1. Disconnect the connector D-17 and measure at the harness side.




2. Check for the continuity between terminal 4 and ground.
- Should be less than 2 Ohm.

Q: Is the continuity normal?

YES: Go to Step 12.

NO: Repair harness wire damage between fuel pump connector D-17 terminal 4 and ground because of open circuit or harness damage. Then confirm that the malfunction symptom is eliminated.







STEP 12. Check for open circuit and short circuit to ground and harness damage between fuel pump relay 2 connector C-105 terminal 4 and fuel pump connector D-17 terminal 5.

NOTE: Check harness after checking intermediate connectors C-101. If intermediate connectors are damaged, repair or replace them. After to Harness Connector Inspection. Then check that the malfunction is eliminated.

Q: Is the harness wire in good condition?

YES: Go to Step 13.

NO: Repair it. Then confirm that the malfunction symptom is eliminated.




STEP 13. Check connector C-51 at ECM or connector C-52 at PCM for damage.

Q: Is the connector in good condition?

YES: Go to Step 14.

NO: Repair or replace it. Refer to Harness Connector Inspection. Then confirm that the malfunction symptom is eliminated.

STEP 14. Check the power supply voltage at ECM connector C-51 or PCM connector C-52
.

1. Disconnect the connector C-51 or C-52
and measure at the harness side.
2. Turn the
ignition switch to the "ON" position.




3. Measure the voltage between terminal 21 and ground.
- Voltage should be battery positive voltage.

4. Turn the ignition switch to the "LOCK" (OFF) position.

Q: Is the voltage normal?

YES: Replace the ECM or PCM. Then confirm that the malfunction symptom is eliminated.

NO: Check harness connectors C-28 and C-108 at intermediate connector for damage, and repair or replace as required. Refer to Harness Connector Inspection. If intermediate connectors are in good condition, repair harness wire between fuel pump relay 2 connector C-105 terminal 2 and ECM connector C-51 terminal 21 or PCM connector C-52 terminal 21 because of open circuit. Then confirm that the malfunction symptom is eliminated.