Curiosii for ever!: Car repair manuals for everyone.

Front

FRONT WHEEL ALIGNMENT CHECK AND ADJUSTMENT
Required Special Tool: MB991004: Wheel Alignment Gauge Attachment

Measure wheel alignment with alignment equipment on a level surface.
The front suspension, steering system, and wheels should be serviced to normal condition prior to measurement of wheel alignment.

TOE-IN
Standard value: 0 ± 3 mm (0 ± 0.12 inch)





NOTE: If the toe-in is not within the standard value, adjust the toe-in by undoing the clips and turning the left and right tie rod turn buckles by the same amount (in opposite directions).

NOTE: The toe will move out as the left turnbuckle is turned toward the front of the vehicle and the right turnbuckle is turned toward the rear of the vehicle.
For each one turn of the left and right tie rods, the toe-in will be adjusted by approximately 1°05' (per wheel).

STEERING ANGLE





Standard Value:

CAMBER AND CASTER
Standard value:
Camber 0°00' ± 30' (Left/right deviation within 30')
Caster 3°00' ± 30' (Left/right deviation within 30')

NOTE: Caster is preset at the factory and cannot be adjusted.





CAUTION: Never subject the wheel bearings to the vehicle load when the driveshaft nuts are loosened.

NOTE: For vehicles with aluminum type wheels, attach the camber/caster/kingpin gauge to the driveshaft by using special tool MB991004. Tighten special tool MB991004 to the same torque 226 ± 29 Nm (167 ± 21 ft. lbs.) as the driveshaft nut.





If the camber is outside of the standard value, perform the following adjustment procedures.





1. Estimate how much additional camber adjustment is required. Using the table below, select the camber adjusting bolt, and then replace the knuckle and strut assembly connection bolts (upper bolt, lower bolt) with the selected bolts.

NOTE: If the camber adjusting value that is required is greater than 1°30', check for bent or damaged parts and replace as necessary.








Bolts are identified in the following table:

NOTE: Set bolt is the bolt installed at factory. "10" embossed on bolt head is head mark.





2. Tighten the nuts temporarily, and then pull or push the front axle to adjust the camber.

NOTE: Pulling the upper side of the front axle to the outside of the vehicle will increase the camber. Pushing it to the inside of the vehicle will decrease the camber.

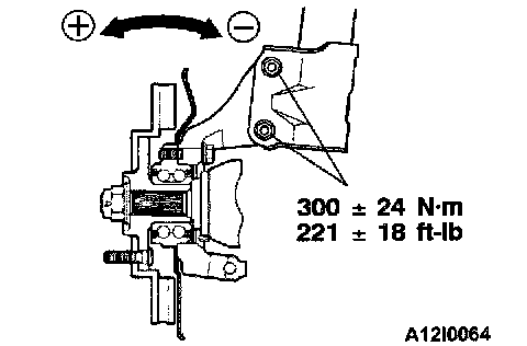
3. Tighten the nuts to 300 ± 24 Nm (221 ± 18 ft. lbs.).
4. Recheck the camber.