Curiosii for ever!: Car repair manuals for everyone.

Cruise Control Switch Check

1. Remove the air bag module using the following procedure.
1. Remove the negative terminal of the battery and wait for more than 60 seconds.

CAUTION: The capacitor in the SRS-ECU retains enough voltage to deploy the air bag for a given period even after disconnection of the battery. If an operation is performed during that given period, unintended deployment of the air bag could result and cause serious injury.




2. Remove the air bag module. To remove the clock spring connector (squib connector) from the air bag module, force the lock outward and pry it with a plain screwdriver as shown at left so that no undue force will be exerted on the connector when it is removed.
3. The removed air bag module should be stored in a clean, dry, flat place with the pad side up.







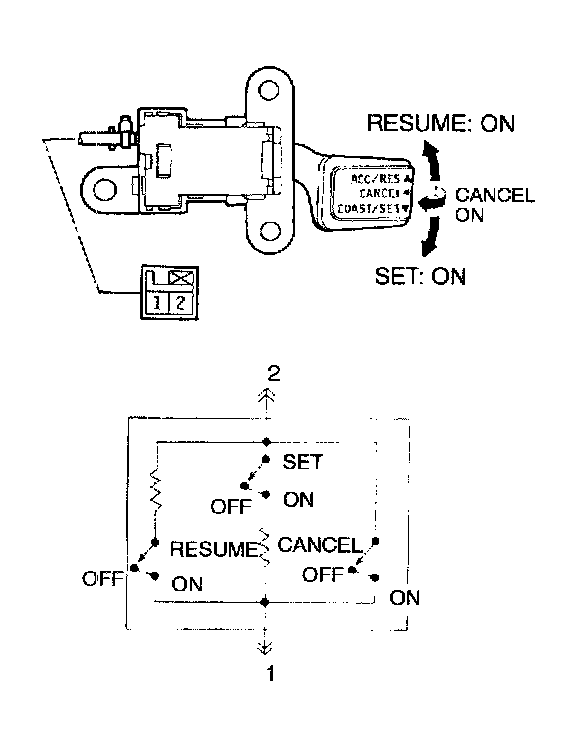
2. Disconnect the connector of the control switch and operate the control switch to measure the resistance between the individual terminals.
If the readings are as shown below, the control switch may be considered good.