Curiosii for ever!: Car repair manuals for everyone.

Main Relay (Computer/Fuel System): Testing and Inspection











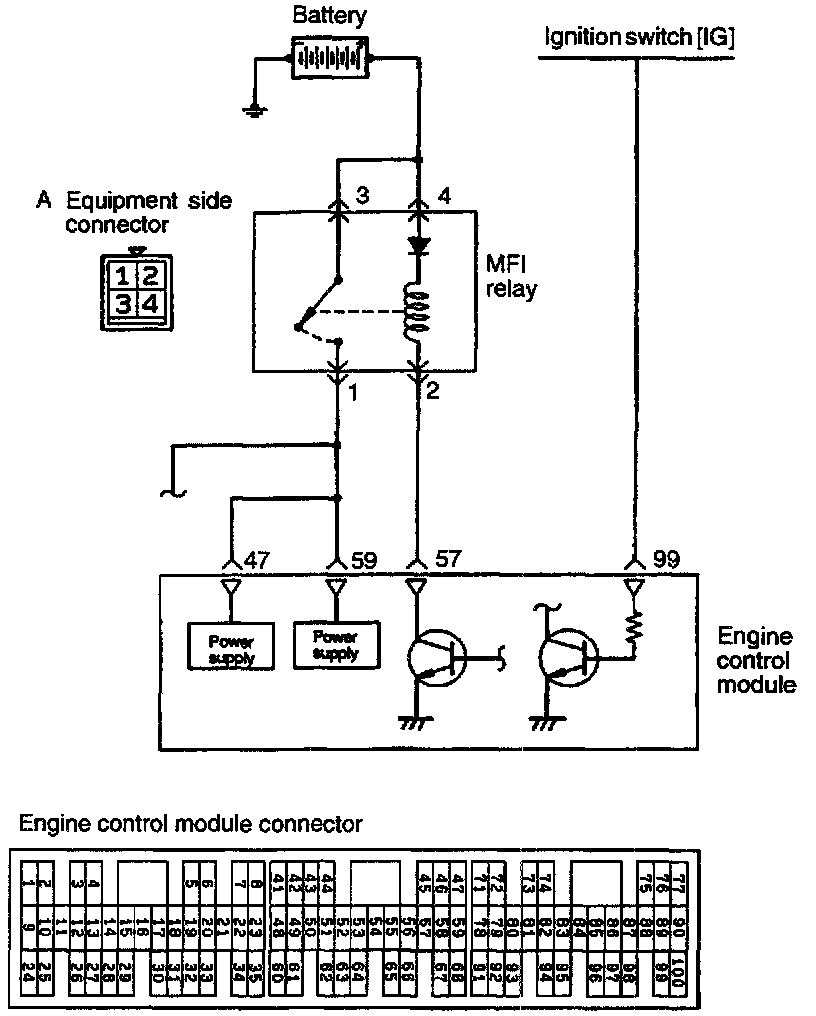
OPERATION
- While the ignition switch is on, battery power is supplied to the engine control module, the injector, the volume air flow sensor, etc.
- When the ignition switch is turned on, the battery voltage is applied from the ignition switch to the engine control module, which then turns ON the power transistor to energize the MFI relay coil. This turns ON the MFI relay switch and the power is supplied from the battery to the engine control module through the MFI relay switch.





INSPECTION
Using Scan Tool

HARNESS INSPECTION





Measure the ignition switch (IG) terminal input voltage.
- Engine control module connector: Disconnected Voltage (V): 0-1 (Ignition switch: OFF)
Battery positive voltage (Ignition switch: ON)
OK: GO TO STEP 2
NG: Repair the harness. (Ignition switch - 99) or check the ignition switch





Measure the power supply voltage of the MFI relay.
- MFI relay connector: Disconnected
Voltage (V): Battery positive voltage (Ignition switch: OFF)
OK: GO TO STEP 3
NG: Repair the harness. (Battery - A3, A4)





Check for an open-circuit, or a short-circuit to ground, between
the engine control module and the MFI relay.
- Engine control module connector: Disconnected
- MFI relay connector: Disconnected
OK: GO TO STEP 4
NG: Repair the harness. (A2-57)





Check for an open-circuit, or a short-circuit to ground between the engine control module and the MFI relay.
- MFI relay connector: Disconnected
- Engine control module connector: Disconnected
OK: GO TO STEP 5
NG: Repair the harness. (A1 - 47, 59)





Measure power voltage to the actuator.
- MFI relay connector: Connected
- Engine control module connector: Connected
Voltage (V): 8 or higher (Engine cranking)
Battery positive voltage (Engine racing)
OK: STOP
NG: Replace the MFI relay or defective engine control module

MULTIPORT FUEL INJECTION (MFI) RELAY AND FUEL PUMP RELAY CHECK
(1) Remove the relay.








(2) Check for continuity between the relay terminals.
(3) Use the jumper leads to connect relay terminal 4 to the battery (+) terminal and terminal 2 to the battery (-) terminal.








(4) Check the continuity between relay terminals 1 - 3 while connecting and disconnecting the jumper lead at the battery (-) terminal.
(5) If there is a defect, replace the relay.