Curiosii for ever!
: Car repair manuals for everyone.
Home
>>
Mitsubishi
>>
1996
>>
Eclipse Spyder FWD L4-2350cc 2.4L SOHC 16 Valve
>>
Repair and Diagnosis
>>
Diagrams
>>
Exploded Views
>>
Cylinder Head Assembly
>>
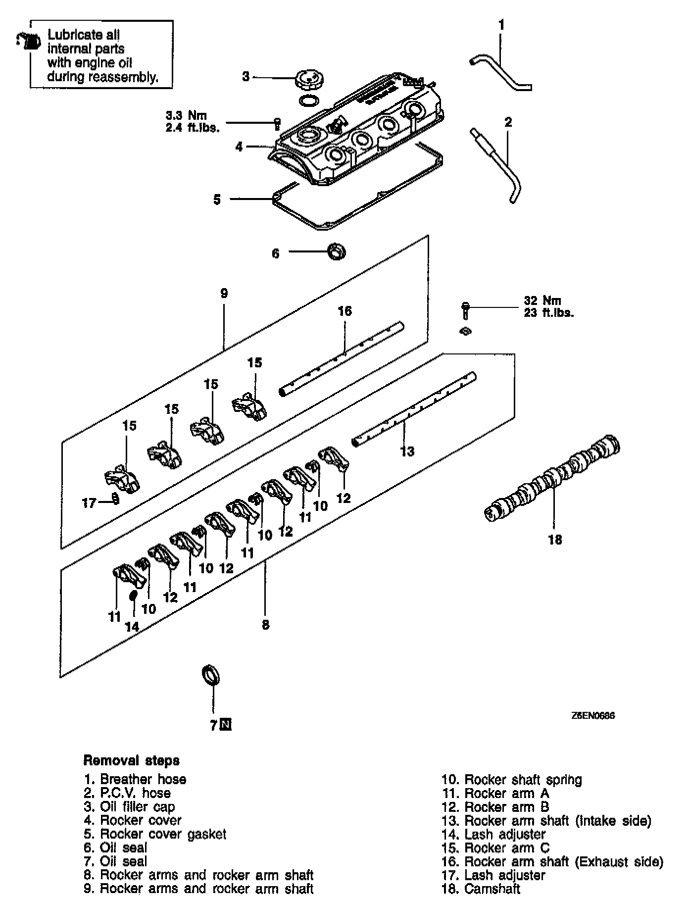
Rocker Arm Assembly
Rocker Arm Assembly