Curiosii for ever!
: Car repair manuals for everyone.
Home
>>
Mitsubishi
>>
1995
>>
Eclipse AWD L4-1997cc 2.0L DOHC Turbo
>>
Repair and Diagnosis
>>
Powertrain Management
>>
Ignition System
>>
Firing Order
>>
Specifications
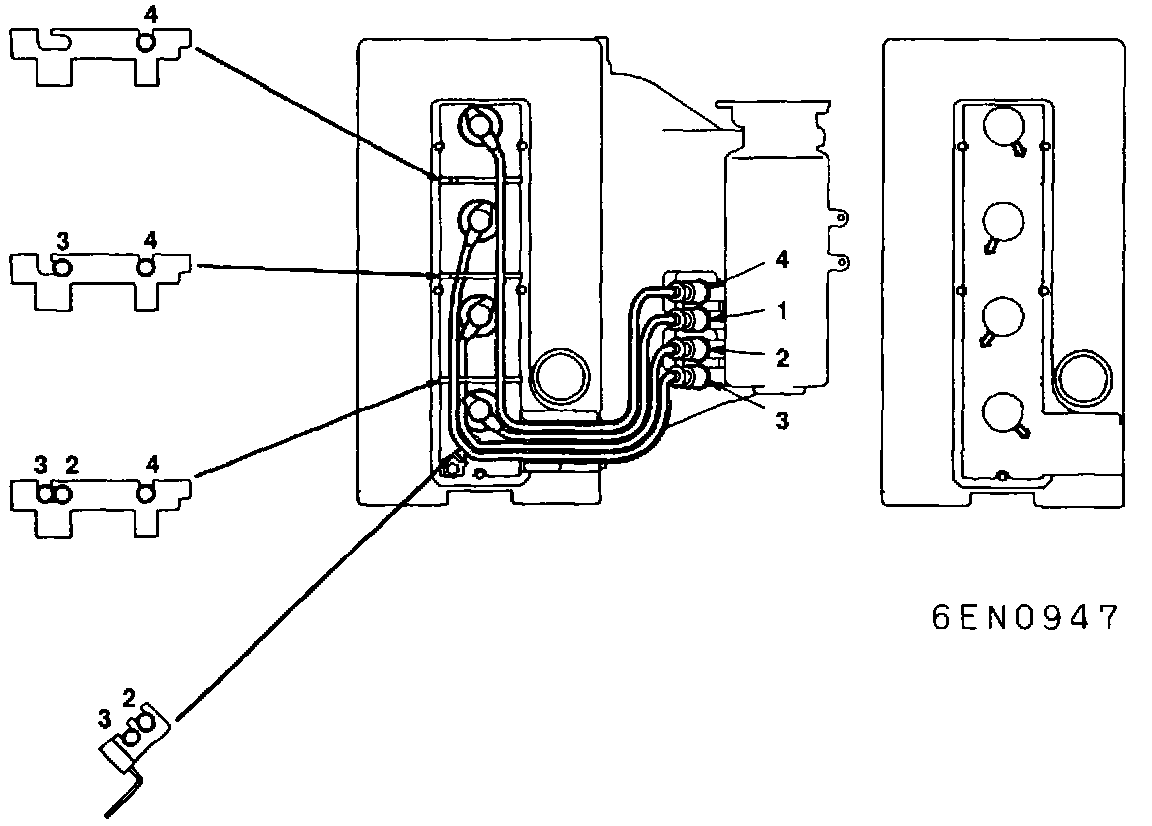
Firing Order: Specifications
Spark Plug Cable Installation:
Firing Order
: 1 - 3 - 4 - 2