Curiosii for ever!: Car repair manuals for everyone.

A/C Signal: Testing and Inspection








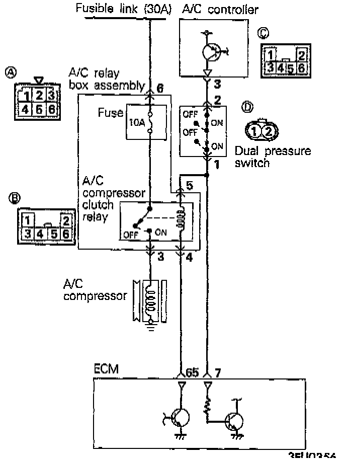
CIRCUIT DIAGRAM








USING SCAN TOOL





HARNESS INSPECTION PROCEDURES

TROUBLESHOOTING HINTS
When the idle speed does not increase with the air conditioning or when the air conditioning compressor does not run, a short-circuit or broken wire may be present in the circuit related to the air conditioning.