Curiosii for ever!: Car repair manuals for everyone.

Crankshaft Position Sensor: Description and Operation

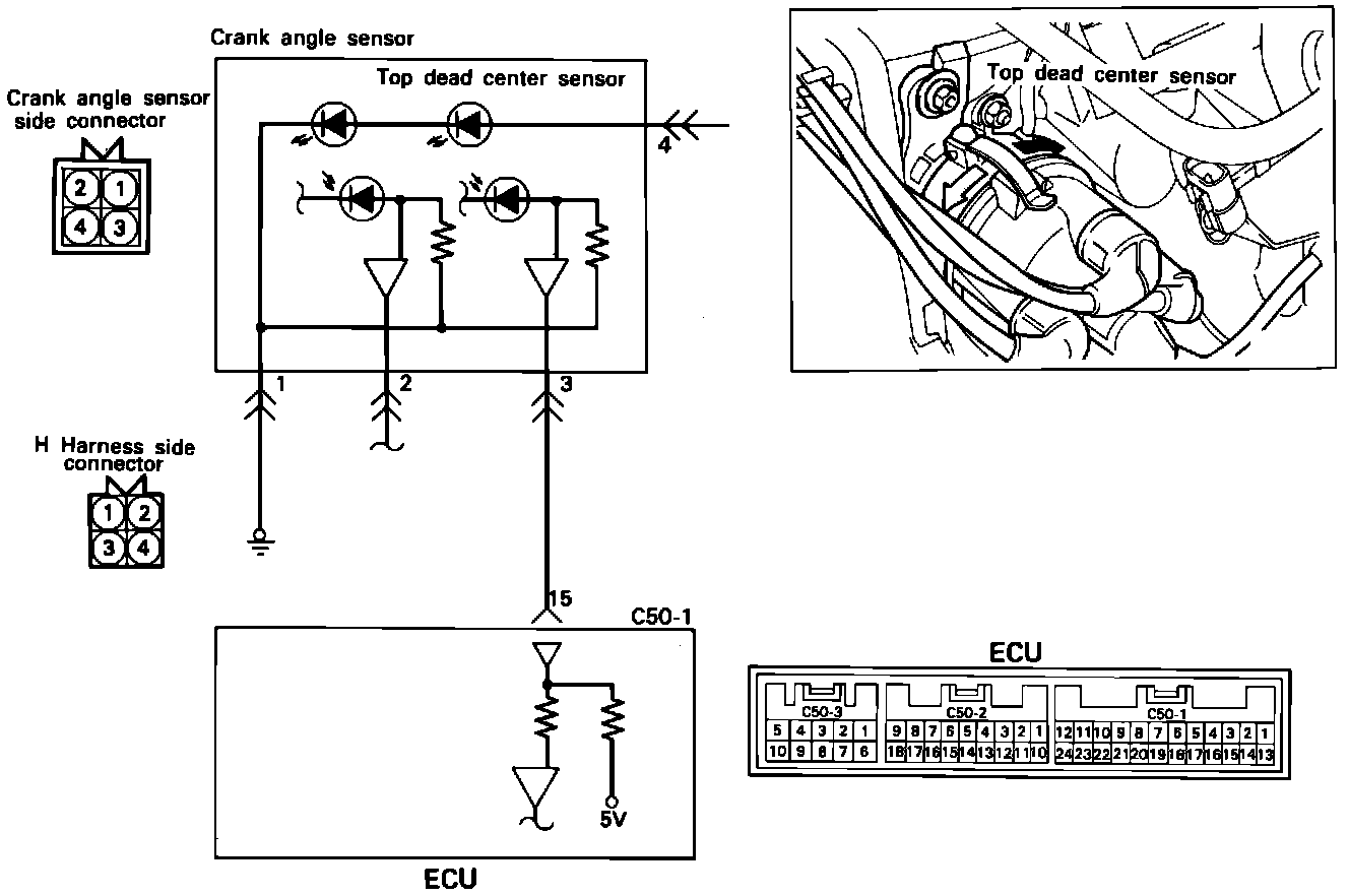
Camshaft (TDC) Position Sensor Circuit:





CRANKSHAFT POSITION SENSOR

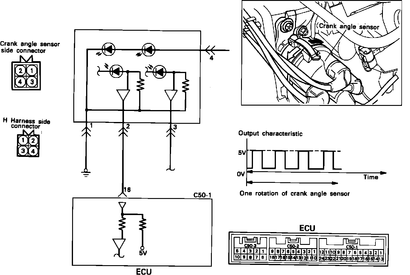
Crankshaft Position Sensor Circuit:





CAMSHAFT POSITION SENSOR


LOCATION
The Crank Angle Sensor and the Top Dead Center Sensor are located within the distributor housing.

Crank Angle And #1 TDC Sensor Location:





CONSTRUCTION
Both sensors are incorporated into one unit; a disc and a pick-up unit. The disc is affixed to the distributor shaft and the light-transmitting unit is mounted stationary to the distributor housing.


Crank Angle And #1 TDC Sensor:





The disc contains 4 large slits around its circumference to indicate the crankshaft angle. An additional light-transmission slit located inward from the edge is used to indicate number one cylinder's top dead center position. The pick-up unit assembly uses two luminous diodes and two photo diodes, in order to detect the two different slits.



Photoelectric Signal Pattern:





OPERATION
The disc rotates within a very slight clearance between the luminous diodes and the photo diodes. As the distributor shaft rotates, the slits at the discs edge pass between the light and the optical reading part of the unit. The light emitted from the luminous diodes pass through the slits to the photo sensing diodes. When the photo diodes receive light, they become conductive and generate a signal, which is sent to the Control Unit.

The Control Unit is able to detect number one cylinder TDC by the signal generated through the single inner slit on the disc. The sequence of the fuel injector firing is based on this signal.

The slits at the outer circumference of the disc represent the exhaust stroke and detect the position of the crankshaft (and, therefore, the piston) relative to top dead center.

Based on these signals, the Control Unit determines the fuel injection pulse width, ignition timing, and the intake air flow rate for each revolution of the engine.