Curiosii for ever!: Car repair manuals for everyone.

Idle Speed Control (ISC) Servo

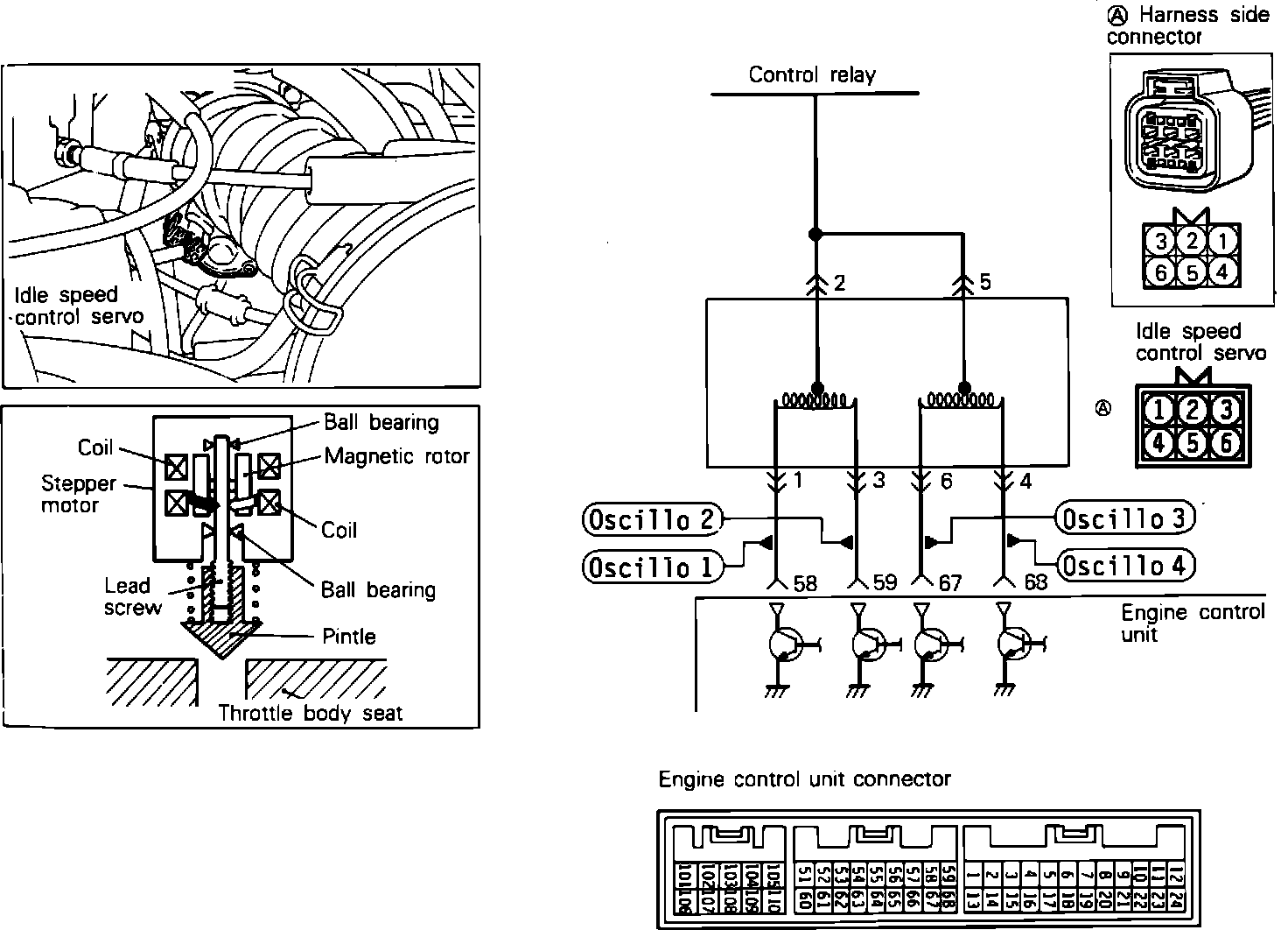
Idle Speed Control (ISC) Servo Circuit:





Use the following procedures to test the ISC Servo:

COMPONENT TEST
1. Disconnect the ISC servo connector.

Idle Speed Control (ISC) Servo Resistance Test:





2. Using an Ohm meter, check the resistance between terminals 2 and either 1 or 3.

Resistance: 28 - 33 Ohms @68°F

2. Using an Ohm meter, check the resistance between terminals 5 and either 6 or 4.

Resistance: 28 - 33 Ohms @68°F

Idle Speed Control (ISC) Servo Operation Test:





3. Using a 6 VDC power supply, apply Voltage to terminals 2 and 5.
4. While holding the servo as indicated in the image, connect the negative terminal of the supply to each pair of terminals in the order given below. The servo should vibrate when the ground circuit is supplied.

a. Connect the negative power supply to terminals 3 and 6.
b. Connect the negative power supply to terminals 1 and 6.
c. Connect the negative power supply to terminals 1 and 4.
d. Connect the negative power supply to terminals 3 and 4.
e. Connect the negative power supply to terminals 3 and 6.
f. Perform the tests in reverse order from step e to a.
5. Replace the servo if does not vibrate during each test.


CAUTION: Do not apply a Voltage higher than 6 Volts. If a higher Voltage is used, damage to the ISC servo can result.

OSCILLOSCOPE TEST
1. Connect the probe of the scope to the four points shown in the image.

Oscilloscope Test:





2. Idle the engine and observe the pattern when the A/C (or any electrical load) is placed on the engine.

NOTE: Since the ISC motor only operates to change the idle speed, the pattern will only be visible when it operates.

HARNESS TEST
1. Turn the key to the ON position.
2. Disconnect the ISC connector.
3. Using a Volt meter, check the Voltage between ISC connector harness terminal 2 and ground.

Voltage: System Voltage

4. Using a Volt meter, check the Voltage between ISC connector harness terminal 5 and ground.

Voltage: System Voltage

5. Disconnect the ECU and ISC connectors.
6. Using an Ohm meter, check for continuity between ECU harness terminal 58 and ISC harness terminal 1.

Continuity: Should exist

7. Using an Ohm meter, check for continuity between ECU harness terminal 59 and ISC harness terminal 3.

Continuity: Should exist

8. Using an Ohm meter, check for continuity between ECU harness terminal 67 and ISC harness terminal 4.

Continuity: Should exist

9. Using an Ohm meter, check for continuity between ECU harness terminal 68 and ISC harness terminal 6.

Continuity: Should exist

10. Using an Ohm meter, check for continuity between ECU harness terminal 58 and ground.

Continuity: Should not exist

11. Using an Ohm meter, check for continuity between ECU harness terminal 59 and ground.

Continuity: Should not exist

12. Using an Ohm meter, check for continuity between ECU harness terminal 67 and ground.

Continuity: Should not exist

13. Using an Ohm meter, check for continuity between ECU harness terminal 68 and ground.

Continuity: Should not exist

If any of the previous tests produce unsatisfactory results, the harness will need to be repaired or replaced. Once repairs have been completed, road test the vehicle to confirm that the repair has corrected the problem.
If the same problem reoccurs, it is possible that there is an intermittent failure of the component or the ECU. Check for looseness at all harness junctions and test for an intermittent failure.