Curiosii for ever!: Car repair manuals for everyone.

Transmission Control Systems: Service and Repair




MANUAL TRANSAXLE CONTROL

REMOVAL




1. Remove the console assembly.
2. Remove the cotter pins and clips (shift lever side).
3. Remove the shift lever assembly.




4. Remove the retainer and bolts.
5. Remove the cotter pins and clips (Transaxle side).
6. Remove the shift cable and select cable.

INSPECTION




1. Check the select cable for proper operation and for damage.
2. Check the shift cable for proper operation and for damage.
3. Check the boot for damage.
4. Check each bushing for wear, abrasion, sticking, restricted movement or damage.
5. Check for a weak or damaged spring.

INSTALLATION




1. Install the shift lever assembly.
2. Installation of shift lever and select cable.
1. Move the transaxle select lever and shift lever to the neutral position.
2. When connecting the select cable to lever (B), adjust the select cable's length so that lever (B) is at the neutral position.
3. The flange side of the resin bushing at the select cable end should be at the lever (B) end surface.
4. The flange side of the resin bushing at the shift cable end should be at the shift lever's cotter pin hole.
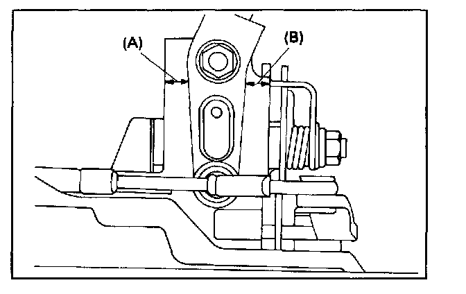
5. After connecting the shift cable, check that the dimensions (A) and (B) shown in the illustration are equal.
6. Move the shift lever to each position and verify that the shifting is smooth.
3. Install the retainer and bolts.